
Bơm cao áp ô tô, bơm cao áp diesel, bơm cao áp máy dầu
Bơm cao áp là gì ?
Bơm cao áp là phụ tùng thuộc hệ thống nhiên liệu của động cơ Diesel, nó đảm nhận nhiệm vụ đưa nhiên liệu tới vòi phun phải có áp suất cao, tạo chênh áp lớn trước và sau vòi phun, cung cấp lượng nhiên liệu cần thiết cho mỗi chu trình ứng với chế độ làm việc quy định của động cơ, đồng thời cung cấp nhiên liệu đồng đều vào các xy lanh theo trình tự làm việc quy định của động cơ, nhiên liệu vào xy lanh động cơ đúng lúc theo một quy luật đã định.
Bơm cao áp hoạt động trong điều kiện áp lực cao và luôn thay đối đột ngột, nhưng yêu cầu việc thay đổi lượng nhiên liệu cung cấp cho chu trình làm việc của động cơ phải dễ dàng và nhanh chóng, đảm bảo độ chính xác khi làm việc. Vì vậy mà nó rất dễ bị hư hỏng, khi có hư hỏng xảy ra sẽ ảnh hưởng rất lớn tới động cơ và toàn bộ hệ thống.
Các loại bơm cao áp ô tô
Hiện nay ở nước ta cũng như trên thế giới đang sử dụng rất nhiều loại bơm cao áp khác nhau về kiểu loại, kích cỡ, hình dáng và phương pháp điều chính, phân phối nhiên liệu. Có nhiều phương pháp phân loại bơm cao áp khác nhau dựa vào đặc điểm kết cấu, nguyên ly làm việc, vv...
Theo phương pháp điều chỉnh lượng nhiên liệu cung cấp cho chu trình có thể chia bơm cao áp thành hai nhóm chính là bơm cao áp không thay đổi hành trình piston và bơm cao áp thay đối hành trình piston.
Theo phương pháp phân phối nhiên liệu cho các xylanh động cơ chia bơm cao áp ra làm hai loại chính là bơm cao áp thắng hàng (bơm cụm, bơm liển) và bơm cao áp phân phối.
Trong nhóm bơm cao áp không thay đối hành trình Piston, có thể điều chỉnh lượng nhiên liệu cung cấp cho chu trình bằng một trong các phương pháp sau:
- Thay đối lượng nhiên liệu xả về không gian áp suất thấp trên một phần hành trình của piston thông qua van xá, trong đó việc đóng mở van xả là do một cơ cấu cơ học dẫn động.
- Thay đối lượng nhiên liệu xả về không gian áp suất thấp trên một phần hành trình của piston trong đó bản thân piston bơm cao áp đảm nhận chức năng của van điều chỉnh quá trình xả
- Thay đối lượng nhiên liệu xả về không gian áp suất thấp trên toàn bộ hành trình của piston thông qua một lỗ tiết lưu, tiết điện lưu thông này được điều chỉnh bằng một cơ cấu cơ học.
- Thay đổi mức độ tiết lưu ở lỗ hút nhiên liệu.
Trong nhóm bơm cao áp thay đổi hành trình Piston, hành trình của piston có thể thay đổi bằng một trong những cách sau:
- Dịch chuyến cam có prôfin thay đối theo chiều trục.
- Thay đổi khe hổ giữa piston bơm cao áp và con đội.
- Thay đổi tý số truyền của cơ cấu truyền động từ trục cam tới con đội cao áp.
Hiện nay hầu hết động cơ Diesel đều sử dụng các loại bơm cao áp không thay đối hành trình piston, chủ yếu là loại điều chỉnh lượng nhiên liệu cấp cho chu trình bằng van piston và loại bơm có van xả.
Bơm cao áp thẳng hàng
Bơm cao áp thắng hàng gồm một hay nhiều nhánh bơm, mỗi nhánh bơm đắm nhận việc cung cấp nhiên liệu cho một xylanh. Do mỗi nhánh bơm cung cấp nhiên liệu cho một xy lanh nên trên động cơ có nhiều xy lanh thì sẽ có nhiều bơm tương ứng với số xy lanh của động cơ .
Bơm cao áp thẳng hàng có nhược điểm là kích thước, khối lượng bơm lón, số lượng
các chỉ tiết, kế cả các chỉ tiết chính xác nhiều. Việc bảo dưỡng sửa chữa phức tạp. Do mỗi bơm cung cấp cho một xylanh nên mức độ đồng đều giữa các xylanh kém. Mỗi nhánh của bơm cao áp thắng hàng có những chỉ tiết cơ bản sau: piston là một thanh hình trụ, xylanh, trục cam, con đội, lò xo và van cao áp.

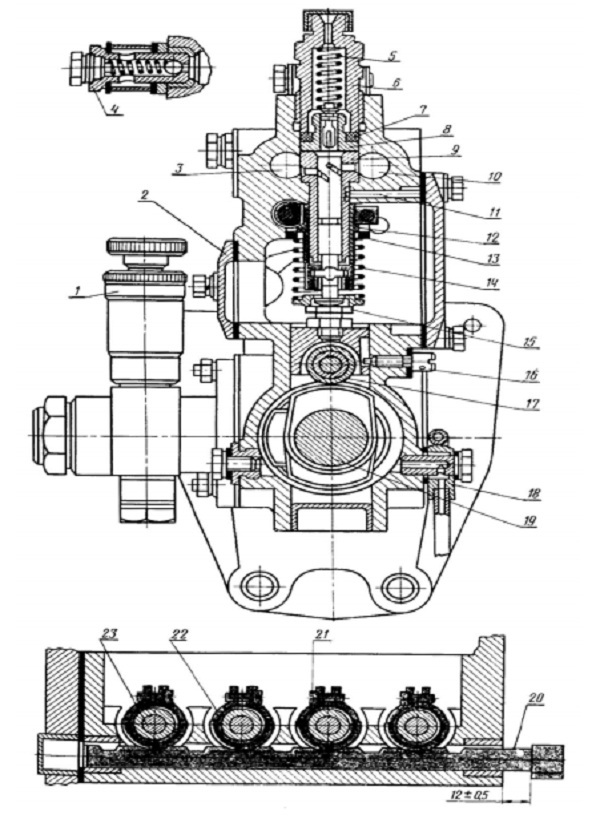
Hình 9.17- Kết cấu một nhánh bơm cao áp thẳng hàng.
1-Trục cam; 2-Cạnh cắt; 3-Nắp bơm cao áp; 4-Rãnh dọc trong nắp bơm; 5-Cửa xả; 6-
Lò xo van cao áp; 7-Ốc nối; 8-Van cao áp; 9-Đế van cao áp; 10-Cửa hút; 11-Rãnh dọc
trong nắp bơm; 12-Chốt định vị; 13-Piston bơm cao áp; 14-Bạc; 15-Lỏ xo; 16-Đĩa lỏ xo;
17-Bu lông điều chỉnh; 18-Đai ốc hãm; 19-Con đội; 20-Con lăn.
Nguyên lý làm việc của bơm cao áp Diesel
Khi trục cam quay, piston thực hiện chuyến động qua lại tịnh tiến ( dịch chuyển lên xuống ). Nhở trục cam 1 nó được nâng lên, và hạ xuống nhở lò xo 15. Trong bơm có hai cửa: Cửa nạp 10 và cửa và cửa xả 5. Nhiên liệu qua cửa 10 vào xylanh bơm và được phun vào xylanh động cơ. Nhiên liệu thừa được xả qua cửa xá khi kết thúc phun. Trong phần trên của piston có rãnh vòng ngang a.
Rãnh này nối với rãnh b đi đọc piston lên phía trên gặp rãnh khoang ngang trong piston. Ở phần trên rãnh này hẹp, còn ở phía dưới thì phình ra. Piston được lắp vào bơm sao cho khi cần có thể xoay piston đi một góc nào đó quanh trục. Khi bơm làm việc, xylanh 14 cố định. Van cao áp tựa vào mặt đầu xylanh. Van cao áp được lò xo 6 ép chặt vào đế van. Van cao áp là một chỉ tiết hình trụ có hình đạng phức tạp.
Phần hình trụ đưới có một số rãnh dọc ø cách đều một số khoảng như nhau. Trên đó một ít, có đai hình trụ được gọi là đai thoát tải. Trên nó, có một phần côn e gọi là phần côn khóa. Phân côn này ngăn cách thể tích trên piston với thế tích G trên van. Khoang trên van được nối với vòi phun, bằng ống dẫn cao áp, nhờ đó nhiên liệu được cung cấp vào xylanh.
Nhiên liệu cung cấp vào xylanh như sau: Khi piston chuyến động xuống dưới rãnh 11, nhiên liệu qua cửa hút 10 vào nạp đây trên khoang piston. Khi piston chuyến động lên trên, nó đóng cửa 10, nhiên liệu trong khoang trên piston bị nén lại đến một áp suất nào đó sẽ thắng lực lỏ xo 6, nâng van cao áp. Piston tiếp tục chuyến động nén nhiên liệu. Khi đạt tới áp suất phun thì nhiên liệu phun vào xylanh. Quá trình phun càng lâu, nhiên liệu được cung cấp càng lớn trong một hành trình của piston.
Pision tiếp tục chuyển động lên trên đến thời điểm mà lúc đó cạnh cắt 2 trên piston gặp cửa 5, sẽ tạo thành lỗ thông, đo đó nhiên liệu nén thóat ra rãnh 4 với tốc độ lớn .Do sức cán thủy lực của lỗ nhỏ, nên nhiên liệu chảy ra lớn hơn nhiên liệu do piston đấy vào và áp suất trên piston giảm xuống rất nhanh. Dưới tác dụng của lò xo 6 và áp suất nhiên liệu ổ phía trên van cao áp cao hơn ở dưới van nên van đóng lại .
Vào thời điểm khi cạnh dưới của đai thoát tải vừa lọt vào đế van khoang trên piston tách khỏi khoang trên van và nhiên liệu không thế chảy tử khoang này sang khoang. Đai thoát tải đóng vào đế van làm tăng thể tích khoang trên van.
Khi tăng thế tích khoang trên van do đai thoát tải hạ xuống, sẽ làm giảm đột ngột áp
suất trong thể tích này. Sự giảm đột ngột áp suất trong hệ thống cung cấp nhiên liệu sẽ cắt nhanh và đột ngột nhiên liệu cung cấp qua vòi phun. Nhờ vậy nó tránh hiện tượng phun lặp lại và nhiên liệu chảy từ lỗ phun trong giai đoạn kế tiếp giữa các lần phun. Sau khi kết thúc phun, phần côn khóa của van cao áp sẽ ngăn khoang trên van với khoang dưới van.
Nhờ đó áp suất trên van vào giai doạn giữa các lần phun, trổ nên nhỏ và hầu hết giông nhau, như vậy đảm bảo những lần phun như nhau cả về lượng nhiên liệu, cả về thời điểm bắt đầu cung cấp ở mọi chế độ làm việc.
Thay đổi lượng nhiên liệu cung cấp giữa các nhánh bơm bằng cách xoay piston xung
quuanh trục. Piston quay đi một góc theo chiều kim đồng hồ, nếu nhìn từ phía dưới, góc
này càng lón, thì thời điểm cạnh cắt 2 gặp cửa 5 cảng muộn thời gian cung cấp càng lâu,
nhiên liệu cung cấp càng nhiều. Khi piston quay ngược chiều kim đồng hồ, thời gian cung cấp giảm đi vì cạnh cắt gặp cửa xả sớm hơn và nhiên liệu thoát qua cửa 5 sớm hơn.
Do đó lượng nhiên liệu phun sẽ ít đi. Nếu quay piston ngược chiều kim đồng hồ để cho rãnh dọc b của piston đối diện với cửa xả 5 trong suốt thời gian chuyến động thì khi piston ở chuyển động lên trên sẽ không có nhiên liệu cung cấp và toàn bộ nhiên liệu chảy ra ngoài.
Nhiên liệu bắt đầu được nén lại khi piston đóng cửa 10 và kết thúc vào thời điểm cạnh
cắt bắt đầu mở cửa 5. Nếu xoay bulông 17 ra khỏi thân con đội 19 càng nhiều thì cạnh trên của piston càng sớm đóng hoàn toàn cửa 10. Khi vặn bulông 17 vào, chiều dài chung của con đội giảm và cửa 10 đóng hoàn toàn càng muộn. Như vậy thay đổi thời điểm bắt đầu cung cấp nhiên liệu của bơm bằng cách thay đổi chiều dài của con đội.
Bơm cao áp YTH (Liên xô cũ)
Bơm cao áp YTH có các kiếu YTH-5 dùng trên động cơ bốn xy lanh và YTH-10 trên
động cơ sáu xy lanh. Bơm có prôfin trục cam đạng tiếp tuyến, van cao áp loại nấm có đường kính 6mm. Thân bơm được đúc bằng hợp kim nhôm. Trong phân trên có hai rãnh đọc để dẫn nhiên liệu tử bơm chuyến nhiên liệu đến và dẫn nhiên liệu thửa ra, và có một rãnh ngang qua đó có thể xá không khí từ đường cung cấp.
Trên đường ra từ rãnh cắt đặt một van cân bằng giữ cho áp suất cung cấp là 0.7 kg/cm2. Phía trên thân đặt một nắp để tháo lắp và điều chỉnh con đội của các nhánh bơm. Bơm chuyến nhiên liệu nhận truyền động từ cam lệch tâm của trục cam bơm. Thay đối lượng cung cấp nhiên liệu bằng cách xoay piston nhờ một vành răng. Con đội con lăn có bạc bơi, chúng được hãm cho khỏi xoay dọc trục nhờ vít văn vào thân bơm.
Độ đồng đều cung cấp nhiên liệu được điều chỉnh bằng vít xoay piston. Bộ điểu tốc được chế tạo theo sơ đổ mắc nối tiếp bộ phận hiệu chỉnh, có bộ phận làm giàu nhiên liệu tự động. Chuyển động quay trên moay ở quả văng được truyền qua một lỏ xo xoắn. Bơm YTH được sử dụng rộng rãi trên nhiều loai động cơ khác nhau.
Bơm cao áp YTH -5:

Hình 9.18 - Bơm cao áp YTH -5.
1-Bơm chuyến nhiên liệu; 2-Nắp; 3-Khoang xá; 4-Van cân bằng; 5-Lò xo van cao áp;
6-Nắp chụp; 7-Đệm; 8-Đế van cao áp; 9-Xylanh; 10-Khoang nạp; 11-Vít hãm; 12-Đệm;
13-Ống xoay; 14-Lò xo bơm; 15-Víi điều chỉnh thời điểm phun; 16-Vít chống xoay con
đội; 17-Con đội con lăn; 18-Đường cấp dầu bôi trơn; 19-Trục cam bơm cao áp; 20-Thanh răng; 21-Vít ham; 22-Vành răng; 23-Piston.
Bơm có một số chỉ tiết được chế tạo bằng hợp kim nhôm để giảm trọng lượng của bơm. Khoảng cách giữa các trục tâm piston là 32mm. Nắp bơm được đúc liền với thân có gắn một tấm gang để bắt vào động cơ. Phía sau có một mặt bích đề bắt bộ điêu tốc. Trên piston 23 có hai rãnh xoắn, nhờ đó cân bằng được áp suất của nhiên liệu tác dụng đến piston tạo ra trong quá trình phun. Việc triệt tiêu tác dụng một phía của lực vào thời điểm phun sẽ giắm được hao mỏn cặp piston và kéo dài thời gian làm việc của chúng.
Xylanh được hãm bằng vít hãm I1 cho khỏi xoay, đầu vít lọt vào rãnh của xylanh. Nắp quan sát ngăn ngừa vít khỏi rơi ra. Van cao áp 8 và đế van là một cặp chỉ tiết chính xác. Khe hồ giữa đai thoát tải và đế van là 2+16 micrông. Ốc nối 6 dùng để gắn van cao áp vào thân bơm. Dưới ốc nối người ta đặt đệm làm kín 7 bằng kaprôn.
Thay đổi lượng nhiên liệu cung cấp cho chu trình bằng cách xoay piston nhở vào thanh răng 20 và vành răng 22. Đệm 12 với vành răng 22 được lồng vào xy lanh 9 của piston. Con đội 17 được hãm bằng vít 16. Đầu vít này lọt vào rãnh trong thân con đội.
Trục cam 19 có profn đối xứng dạng tiếp tuyến đắm bảo cho hành trinh piston là 8mm. Thân bơm cao áp thông với khí quyến qua nắp 2 trong đó có đặt lõi lọc để lọc khí. Điều chỉnh lượng cung cấp nhiên liệu của mỗi nhánh bơm bằng cách xoay đệm 12 tương ứng với vành răng. Trước khi xoay phải nỏi vít 21.
Nguyên lý làm việc:
Trong hành trình đi xuống của piston nhờ lực căng của lò xo 14. Khi piston đi xuống cửa nạp và cửa xả. Nhiên liệu sẽ qua khoang nạp vào khoang trên Piston. Khi piston đi lên nhiên liệu sẽ đi ngược trổ ra theo đường nạp và đường xả. Khi dính piston đóng kín hai lỗ này thì quá trình nén nhiên liệu bắt đầu. Nhiên liệu bị nén cho đến khi áp suất của nhiên liệu thắng lực lò xo 5 làm mở van cao áp nhiên liệu đến vòi phun thực hiện quá trinh phun nhiên liệu.
Bơm cao áp của hãng CAV (Anh)
Hãng CAV sản xuất 3 loại bơm cao áp thắng hàng là AA, N, Z. Từ năm 1960 hãng này sản xuất kiểu bơm cao áp NN. Dặc điểm của bơm này là điều chỉnh chiều cao con đội bằng các vòng đệm, trong thân bơm đặt thêm các lưới lọc bằng phới, lắp trục cam trong các ổ lăn côn.

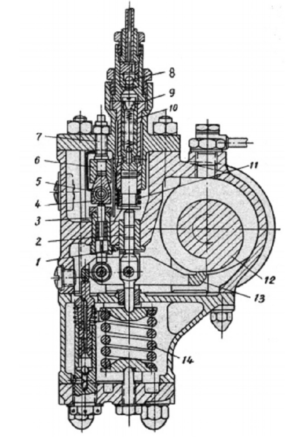
Hình 9.19 - Nhánh bơm cao áp của hãng CAV.
1-Tay thước; 2-Thân bơm; 3-Van cao áp; 4-Bạc; 5-Piston.
Đặc điểm của bơm cao áp loại N : Bơm cao áp loại này có một trục cam, bên trong có một nhánh bơm cho mỗi xy lanh động cơ. Một bơm có thế có 2, 3, 4, 5, hoặc 6 nhánh và đường kính của piston có nhiều cỡ khác nhau, hành trình của piston đều là 9 mm.
Tốc độ quay (đối với bơm có profin dạng cam để phun nhiên liệu trực tiếp, động cơ 4
kỳ) thì được giới hạn đến 1300 v/ph tức là 2600 v/ph của động cơ. Ngoài những đặc điểm chung như những loại bơm khác, loại bơm này còn có một số
đặc điểm sau:
- Việc điều chỉnh sự đồng bộ cung cấp nhiên liệu của mỗi nhánh bơm được bảo đảm
bằng các vòng đệm đặt giữa con đội và chén chặn cửa lò xo hồi vị pisfon.
- Trong mỗi nhánh bơm có một bộ phận lọc bên trong bảo vệ các chỉ tiết chính xác khỏi các bụi bấn. Bộ phận lọc đựơc chế tạo bởi những khối phớt được giữ trong một buồng. ộ đặt van cao áp có một đệm bằng đồng đảm báo độ kín ở áp suất cao. Độ kín khít của ốc nối ống cao áp trên thân bơm (áp suất thấp) được báo đảm bằng hai vòng đệm đặt ở giữa gở ốc nối với thân bơm.
- Cơ cấu điều chỉnh lượng nhiên liệu cung cấp bằng vít có bước ren nhỏ cho mỗi nhánh bơm và tác dụng đến chiều cao của vòng răng 7 và xy lanh 6. Đầu hình trụ 2 của vít 4 lọt vào trong phần giữa của vòng răng 7 và xy lanh 6. Vị trí của vít 4 xác định vị trí của xy lanh 6 (theo chiều cao). Do có đường xiên của các răng ở vòng răng 7 và tay thước 8 cho nên khi xy lanh 6 chuyển địch lên trên hoặc xuống dưới sẽ làm cho piston 5 quay đi một ít và do đó làm thay đổi thời điểm kết thúc phun. Trên mỗi piston có một vít ren nhỏ cho phép điều chính một cách nhanh chóng và chính xác.

Hình 9.20 - Cơ cấu điều chỉnh lượng nhiên liệu cung cấp
1-Rãnh định vị trên bạc piston; 2-Đầu hình trụ của vít điều chỉnh; 3-Giá giữ vít; 4-Vít
điều chỉnh bước ren nhỏ; 5-Piston; 6-Xy lanh; 7-Vỏng răng; 8-Tay thước răng; 9-Rãnh
xiên của piston; 10-Bạc pisfon.
Bơm cao áp CMS của hãng SIGMA (Anh)
Thân bơm làm thành một khối bằng hợp kim nhôm, bạc piston cùng với van cao áp lắp trong một chén đặt trong các lỗ của thân bơm, điều chính lượng cung cấp nhiên liệu đồng đều bằng cách xoay xy lanh và bích đối với thân bơm và điều chỉnh góc phun sớm bằng các đệm đặt dưới các bích của xy lanh. Trong bơm sử đụng các con đội phẳng và trong một số kiểu đặc biệt cỏn sử dụng con đội dạng con lăn.
Có thể sử dụng van cao áp kiểu tác dụng kép và kiểu hình nấm với đai thoát tải. Trong bộ điều tốc không có các khớp nối và quá văng có dạng viên bi tròn. Bộ điều tốc có bộ phận làm giàu khi khỏi động và bộ phận điều chính tăng nhiên liệu ở chế độ mô men cực đại. Trong các bơm cao áp CMS đặt cặp piston - xy lanh có đường kính từ 6 + 10 mm.

Hình 9.21- Bơm cao áp của hãng Sigma.
1-Bạc; 2-Bạc ép; 3-Thanh răng; 4-Tấm hãm; 5-Thanh điều khiến; 6-Nửa khóp trượt;
7-Chạc chữ thập; §-Viên bi của quả văng; 9-Chốt hạn chế tốc độ cực đại; 10-Chốt hỗ trợ
không tải; 11-Vít điều chỉnh; 12-Lò xo của bộ điều tốc; 13-Thanh nối.
Bơm cao áp phân phối là lọai bơm cao áp chỉ dùng một cặp pisfon - xylanh, đồng thời dùng cách phân phối và định lượng thích hợp để đưa nhiên liệu cao áp đến các xylanh của động cơ nhiều xylanh .
Ưu điểm của lọai bơm này là kết cấu "đơn giản", ít các cặp chỉ tiết đòi hỏi độ chính xác cao, kích thước nhỏ, gọn, nhẹ và làm việc tin cậy, ít ôn hơn bơm cao áp thẳng hàng. Việc phân phối nhiên liệu cho các xylanh đồng đều hơn và việc bảo dưỡng, sửa chữa cũng để dàng.
Bơm cao áp phân phối họ HH cửa Liên Xô (cũ)
Bơm phân phối HH có những đặc điểm khác so với bơm thắng hàng. Piston của bơm phân phối thực hiện chuyển động tịnh tiến và quay: Cách chuyến động như vậy không chỉ đấy nhiên liệu mà còn làm nhiệm vụ phân phối nhiên liệu vào các vòi phun. Thay đối lượng cung cấp nhiên liệu bằng cách xê địch bộ phận định lượng dọc trục piston. Cụm van cao áp của bơm gồm có van cao áp và để van.
Bơm HH được ứng dụng trên các động cơ hai, bốn và sáu xylanh, cũng có thế đặt trên
động cơ tám xylanh. Bơm HH có hai kiểu chính là HH -21 và HH-22.
Bơm HH ứng dụng quá trình thoát nhiên liệu thừa vào cuối kỳ phun, (bơm có thời điểm bắt đầu cấp không đổi, và thời điểm kết thúc thay đối). Bơm bố trí chung một cụm với bộ điều tốc mọi chế độ, tác dụng trực tiếp. Bơm chuyển nhiên liệu kiếu piston và bơm tay được gắn vào thân bơm.
Bơm HH 21⁄4 là kiểu cơ sổ của bơm HH. Bơm này có số xylanh từ một đến mười hai. Tốc độ quay của trục khuýu động cơ đến 4000 vỏng/phút và lượng cung cấp trong một chu trình đến 150 ~ 250mm3/chu kỳ.

Hình 9.22- Nhánh bơm cao áp động cơ HH
1-Đĩa đệm lò xo; 2-Bạc răng; 3-Đĩa trên; 4-Piston; 5-chốt lắp; 6-Đai ốc siết, 7Đế
van; 8-Đệm; 9-Lỏ xo;10-Van cao áp; 11-Chốt tựa van; 12-Lỏ xo; 13-Ốc nối ống cao áp;
14-Đệm; 15-Đầu bơm; 16-Bộ phận định lượng; 17-Đệm; 18-Lò xo con đội.
Trong thân bơm đặt nhảnh bơm, nhành bơm thực hiện việc định lượng, nén và phân phối nhiên liệu đến các vòi phun. Nhánh bơm gồm có piston 4, đầu bơm 15, bộ phận định lượng 16 (khóp điều chỉnh) đai ốc siết 6 nối đầu bơm với xy lanh trong đầu bơm đặt van cao áp và để van. Trong xylanh được khoan 2 lỗ hút A và 4 lỗ phân phối. Trong piston có khoan 2 lỗ đọc trục (rãnh trung tâm) lỗ phân phối và 2 lỗ cắt.
Nhiên liệu từ bơm chuyến qua bầu lọc tinh, ốc nối dẫn nhiên liệu vào lỗ A để vào khoang trên piston khi piston đi xuống. Lỗ phân phối T vào thởi điểm này không thông với các lỗ phân phối B, còn các lỗ cắt bị bộ phận định lượng 16 đóng lại. Sau khi đi qua điểm chết dưới, piston lại đi lên, nén nhiên liệu. Chuyến động qua lại tịnh tiến của piston được thực hiện bằng trục cam và lò xo 18 của con đội.
Con đội được giữ cho khói quay nhở một vít hấm. Trục cam thông qua con đội giúp piston thực hiện chuyến động tịnh tiến trong xylanh. Chuyến động quay của pison xung quanh trục của nó được thực hiện nhỏ bạc răng 2 (nhận truyền động từ điều tốc qua một bánh răng trung gian). Trong hành trình đấy piston cung cấp nhiên liệu lần lượt đến các vòi phun qua rãnh trung tâm, lỗ phân phối I' và lỗ tương ứng.
Thời điểm bắt đầu cung cấp nhiên liệu xảy ra vào lúc piston khép kín lỗ hút A trong xylanh. Sự cung cấp được kết thúc vào thởi điểm lỗ cắt I' ra khỏi bộ phận định lượng 16. Điều chỉnh lượng cung cấp nhiên liệu bằng cách thay đối vị trí bộ phận định lượng.
Bơm phân phối của hãng Ameriean Bosch (Mỹ)
Các bơm này truyền động cho piston tử trục cam có pprofin cong bên ngoài. Chuyển động quay cho piston được thực hiện qua một bộ phận truyền lực bánh răng. Dặc điểm chính của loại bơm này là: Piston được đặt trong một đầu bằng thép nguyên khối, ở đây có văn các đai Ốc nối với các ống cao áp.
Ứng dụng bộ điều tốc ly tâm cơ học các quả văng được đặt trên trục cam hoặc được đặt trên một trục đặc biệt bố trí song song với trục cam bên và có số vòng quay lớn hơn trục cam bơm. Thực hiện định lượng cung cấp nhiên liệu bằng cạnh cắt ở cuối kỳ cung cấp nhờ bạc xê dịch đọc piston, thực hiện thoát tải tất cả các đường đẩy bằng một cụm van cao áp.

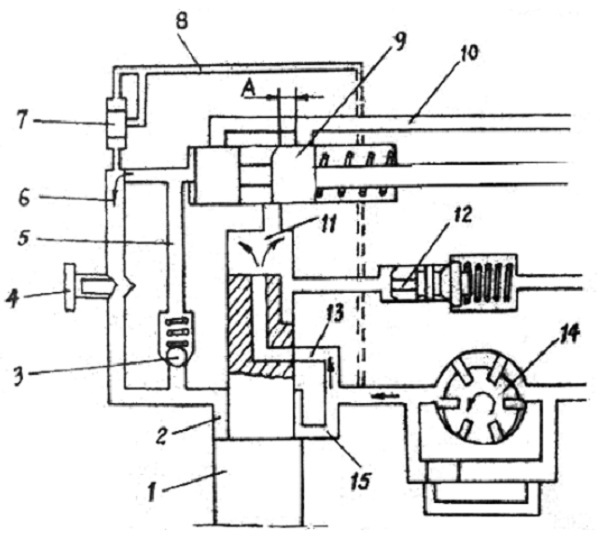
Hình 9.23- Sơ đồ hoạt động của bơm cao áp một piston của hãng American Bosch.
a-Hút nhiên liệu vào khoang trên piston; b-Dóng lỗ hút; c Dẩy nhiên liệu; d-Cắt nhiên
liệu; 1-Van cao áp; 2-Đầu bơm; 3-Rãnh hút; 4-Rãnh dẫn nhiên liệu; 5-Rãnh thoát; 6 Piston; 7-Ốc nối nhánh bơm dẫn lên vỏi phun.
Nguyên tắc hoạt động
Khi piston đi xuống, rãnh hút 3 được mở, nhiên liệu theo rãnh hút 3 vào khoang trên
piston, piston 6 dịch chuyển lên đâu tiên cạnh piston đóng rãnh hút 3 khi piston tiếp tục
đi lên, nhiên liệu ở khoang trên piston bị nén, áp suất tăng lên thắng lực lò xo làm mở van cao áp 1 nhiên liệu đi qua theo rãnh đi ngược trở lại qua rãnh vỏng trên thân 6 rồi tới rãnh dẫn qua ống cao áp để vào vỏi phun. Piston đi lên nữa, cho tới khi cạnh dưới piston mổ rãnh thóat 5 làm cho nhiên liệu ổ khoang trên qua rãnh bên trong piston đi ra rãnh thoát 6 làm cho áp suất ở đây giảm đột ngột, van cao áp đóng lại và quá trình phun kết thúc.
- Bơm cao áp của hãng Bosch.
Bơm cao áp EP /VA của hãng Bosch được sản xuất dành cho động cơ 4 kỳ với số
xylanh lanh là 2,3,4,6. Công suất cần thiết để truyền động cho bơm kiểu 6 ốc nối ống cao
áp, khi đường kính piston bơm cao áp là llmm và số vòng quay trục cam bơm là 2800
vỏng/phút, bằng khoảng 4,5 sức ngựa.
Bơm này được trang bị bơm chuyển nhiên liệu và bộ phận tự động điều chỉnh góc phun sớm. Góc phun sớm được thay đổi tự động đi 6° trong phạm vi tốc độ 600 ~ 1700 vòng/phút của trục bơm. Mức độ không đều của đặc tính điều chính trong bơm được xác định bằng độ cứng của lò xo lực lỏ xo và không phụ thuộc vào chế độ, tốc độ làm việc của bơm.
Nhược điểm của bơm cao áp này là chế tạo phức tạp với piston hai cấp, 2 bể mặt
chính xác có đường kính khác nhau bố trí đồng trục.
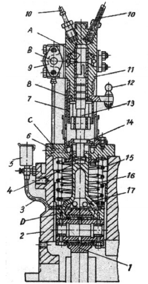
Cấu tạo bơm cao áp EP/ VA
Trục truyền động 19 được lắp trong thân bơm cao áp. Bơm chuyến nhiên liệu kiểu
cánh gạt 18, trong đó rôto của nó được bắt cứng với trục truyền động 19, có nhiệm vụ
cung cấp nhiên liệu vào cho bơm cao áp. Van giảm áp 1 được đặt trong rãnh hút của bơm chuyển nhiên liệu, van này điều khiến áp suất nhiên liệu cung cấp tới bơm. Trục 19
truyền chuyến động quay cho đĩa cam 4, đĩa này lăn trên các con lăn 3 lắp trong giá đỡ 2. Van xả khí 14 dùng để xả không khí lẫn trong mạch cung cấp ở đầu thủy lực 8 là bộ phận rất quan trọng của bơm cao áp, nó chứa các chỉ tiết chính xác của bơm.

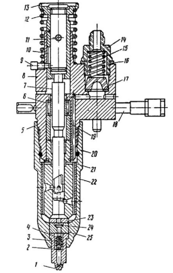
Hình 9.24 - Bơm cao áp phân phối EP/VA.
Pision 10 của bơm nhận hai chuyến động: Chuyến động thế tịnh tiến lên xuống khi các đĩa cam lăn trên con lăn, chuyến động quay từ đĩa cam quay, nhờ đó nó phân phối nhiên liệu vào các xylanh động cơ. Piston gồm có hai phân: phần trên để nén nhiên liệu tạo nên áp suất cao và phân phối nhiên liệu tới các vòi phun, phần dưới có kích thước lớn hơn để nén nhiên liệu tạo nên áp suất trong mạch điều chính.
Ngăn kéo điều chỉnh 9, một đầu có lò xo, nó có thế có hai chuyến động: chuyển động dịch đọc (điều khiến thủy lực) do tác động thủy lực tử phần dưới của piston bơm 10 và chuyển động xoay (điều khiến cơ học) do tác động từ một tay điều khiến lượng cung cấp, nó để ở vị trí bình thường (động cơ làm việc) hoặc vị trí ngắt cung cấp nhiên liệu (dừng động cø). Van tiết lưu 12 dùng để điều khiến chế độ của động cơ, van này liên hệ với chân ga. Phía trên của van tiết lưu có một piston có tác dụng tự động điều khiến tăng cung cấp nhiên liệu khi khởi động. Van một chiều 7 đặt ổ ốc nối cao áp dẫn lên vỏi phun.
Hoạt động của quá trình bơm nhiên liệu lên vòi phun xây ra như sau:
Ở thời kỳ hút, piston 1 ở điểm chết đưới, nhiên liệu từ bơm chuyển nhiên liệu cánh gạt 14 theo rãnh 13 vào rãnh bên trong ở phần trên piston 1 rồi vào khoang nén 11 ở phía
trên piston.

Hình 9.25 - Sơ đồ hoạt động của bơm phân phối EP/VA.
Piston chuyển động lên, đóng rãnh cung cấp 13. Áp suất tăng lên làm mở van cao áp 12 đấy nhiên liệu lên vòi phun. Khi ngăn kéo 9 chuyển động về phía phải làm thông khoang nén 11 với rãnh thoát nhiên liệu 10 để cho nhiên liệu trổ về khoang chứa thì quá trình phun kết thúc. Ngăn kéo 9 được xê dịch về phía phải là do áp suất nhiên liệu trong mạch điều chỉnh. Quá trình điễn biến trong mạch này như sau: khi piston 1 ở điểm chết dưới nhiên liệu theo rãnh 15 vào rãnh vòng 2 của đầu thuỷ lực. Pistonldi lên, đóng rãnh 15. Áp suất trong rãnh 2 tăng lên làm mở van một chiều 3. Nhiên liệu đi theo rãnh 5 vào rãnh 6 để vào khoang trái của ngăn kéo 9. Áp suất ở đây tăng lên, thắng lực lò xo đẩy ngăn kéo 5 về phía phải, cho nhiên liệu thoát từ khoang nén qua rãnh thoát 4, làm ngừng cung cấp nhiên liệu. Khi piston 1 ổ điểm chết trên, áp suất trong rãnh vòng 2 trổ nên nhỏ hơn áp suất điều chỉnh của lò xo van một chiều 3, do đó van đóng lại. Ngăn kéo điều chính 9 dưới tác dụng của lò xo sẽ xê dịch về bên trải, làm đóng rãnh trỏ về 10, và nhiên liệu chấy về theo rãnh 6. Dộ mở của rãnh 6 được điều khiến bởi van tiết lưu 4, van tiết lưu này nối với chân ga hoặc tay ga trong buồng lái.
Điều chỉnh lượng cung cấp: Dế thay đối lượng cung cấp, cần tác dụng đến thời kỷ kết thúc phun, tức là xác định hành trình của ngăn kéo điểu chỉnh 9. Hành trình A của ngăn kéo 9 được thay đối do van tiết lưu 4. Hành trình A càng nhỏ thì ngăn kéo 9 càng nhanh chóng, mỏ rãnh thoát, thời kỳ phun kết thúc sớm hơn, tức là giắm lượng cung cấp.
Động cơ hoạt động ở một số vòng quay không đổi, van tiết lưu 4 ở một vị trí nào đó
thiết lập một vị trí cân bằng để cung cấp một lượng nhiên liệu nhất định. Khi số vỏng
quay động cơ tăng lên (do tải trọng giảm) piston bơm 1 dịch chuyển nhanh hơn, áp suất ở khoang trái ngăn kéo 9 tăng lên, ngăn kéo nhanh chóng dịch về bên phải, làm giảm hành trình xoáy lốc và đo đó giảm lượng cung cấp, số vòng quay động cơ giảm di. Ở tốc độ chạy không tải của động cơ, van tiết lưu gần như mỏ, hành trình A trở nên nhỏ nhất.
Điều chỉnh lượng cung cấp cực đại dưới tải trọng: Trên ngăn kéo 9 người ta làm
một rãnh xiên, nhờ vậy khi xoay ngăn kéo 9 sẽ làm thay đối vị trí rãnh xiên, tức là làm
thay đổi hành trình xoáy lốc,và đo đó có thể định vị trí của ngăn kéo 9, ở đó nó cung cấp
nhiên liệu cực đại.
Cung cấp nhiên liệu khởi động: Cung cấp nhiên liệu khởi động khi ngăn kéo nằm ở
cố định trong ố đặt của nó (dịch hết về phía trái). Nó làm thông rãnh 5 và 6 với rãnh thoát
8 ở phía trên piston 1. Áp suất ở đây không đú để làm xê dịch ngăn kéo và ngăn kéo đóng vào ố đặt, để cung cấp nhiên liệu cực đại, tạo điều kiện để dễ dàng khi khởi động. Việc ngắt cung cấp khởi động xảy ra như sau: Áp suất cửa bơm cánh gạt 14 tăng lên do tốc độ và làm tăng áp suất trong rãnh 5và 6. Piston 7 đóng đường nhiên liệu về rãnh § và do áp suất trong rãnh 5 và 6 tăng lên, đẩy ngăn kéo 9 về bên phải làm giảm lượng cung cấp.
Dừng động cơ khi xoay ngăn kẻo 9 tới vị trí ổ đó rãnh xiên của nó làm thông liên tục khoang nén 11 với rãnh thóat 10 thì nhiênliệu sẽ đừng cung cấp và động cơ sẽ ngừng họat động.
Bơm cao áp kiểu DPA - hãng CAV (Anh)
Bơm rôto phân phối kiếu DPA được sản xuất với hai loại: Bộ điều tốc cơ học và bộ điều tốc thủy lực. Trong bơm DPA thực hiện việc định lượng nhiên liệu bằng cách tiết lưu ở mạch hút. Bơm có bộ điều tốc cơ học có kích thước 253xI46x110mm. Bơm được chế tạo cho các động cơ có thể tích làm việc lên đên 2 lít và sô vỏng quay đên 4000 vòng/phút. Hành trình piston là 22mm. Phụ thuộc vào lượng cung cấp chu kỳ đòi hỏi bơm có piston có đường kính khác nhau.
Trong bơm có điều tốc thủy lực, bộ định lượng kiểu lò xo chịu tấi do áp suất phát sinh
từ bơm chuyến. Với sự thay đối số vòng quay bộ định lượng sẽ dịch chuyển dọc trục của
nó và làm giảm hoặc tăng tiết diện định lượng. Như vậy áp suất nhiên liệu trong khoang
cung cấp thay đối tỷ lệ với số vòng quay của roto. Trong bơm DPA giai đọan phun bị kéo
dài do tốc độ thấp của piston, có sự phụ thuộc giữa đặc tính cung cấp nhiên liệu và nhiệt
độ nhiên liệu. Bơm DPA có bộ điều tốc thủy lực có độ không đồng đều của bộ điều tốc
khá cao, số vòng quay bắt đâu tác động của bộ điều tốc không ốn định phụ thuộc vào sự
thay đổi nhiệt độ của nhiên liệu.
Bơm cao áp phân phối kiểu DPA rất phổ biến, nó được ứng dụng trên các động cơ lắp trên các ôtô- máy kéo khác nhau của các hãng khác nhau trên thể giới.

Hình 9.26 - Sơ đồ hoạt động của bơm rôto phân phối DPA.
1-Lò xo điều tốc; 2-Qủa văng; 3-Moay ơ truyền động: 4-Trục truyền động; 5-Piston;
6-Con lăn; 7-Vòng cam; 8-Van định lượng; 9-Rôto; 10-Bơm chuyển nhiên liệu kiểu cánh
gạt; 11-Ống cao áp; 12-Van điều hòa; 13-Vỏi phun; 14-Tay ga; 15-Thanh kéo; 16-Đĩa
truyền động.
Cấu tạo các thành phần chính của bơm cao áp như sau:
“Thân bơm và cơ cấu truyền động. Thân bơm bằng nhôm bên trong chứa rôto bơm và
phân phối 9, đầu thủy lực 15, vòng cam 7 van cao áp cụm quả văng 2. Moay ơ truyền động 3 truyền chuyến động cho roto, nhở một trục truyền động 4. Dầu thủy lực 15 không quay, nó được định vị bằng một vít và được giữ cố định bằng hai vít khác. Giữa moay øơ truyền động 3 vả thân bơm đặt một vỏng đệm kín sát. Trên tục truyền động 4 lắp cụm quả văng của bộ điều tốc cơ học. Các lò xo và trục của bộ điểu tốc được lắp trong một hộp riêng biệt phía trên thân bơm. Đĩa truyền động 16 có rãnh khía bên trong để liên kết với trục truyền động 4. Dĩa truyền động này có một rãnh khía chính và được bắt vào mặt đầu bên trong của rôto bằng hai vít, nhờ đó đĩa truyền và rôto được lắp đúng vị trí đối với nhau.
- Đầu thủy lực 15 là một xylanh và được bắt chặt trong thân bơm bằng ba vít , đảm
bảo lắp vào đúng vị trí. Nếu bơm có lắp bộ phận tự động điều chỉnh góc phun sớm, vít,
định vị lớn được thay bằng một vít rỗng lỏng để có thể dẫn nhiên liệu có áp suất tử bơm
chuyển đến buông piston bộ phận điều chỉnh góc phun sớm. Dầu phía trên của đầu thủy
lực, có lắp bạc ngoài của bơm chuyến. Giữa khoảng bên trong của bạc và rôio bơm
chuyển có một rãnh hở chứa nhiên liệu, khi bơm chuyến kiểu cánh gạt làm việc, nhiên
liệu được đẩy vào buông chứa của van định lượng 8.
-Vít truyền động hoặc rôto của bơm chuyến 10 được bắt vào đầu ngoài của rôto 9. Víi
này có ren phải hoặc ren trái tùy theo chiều quay của bơm. Hai cánh gạt trượt trong vít
truyền động của bơm chuyến và gạt nhiên liệu trong bạc ngòai lắp ở đầu thủy lực. Lượng cung cấp và áp suất của bơm cánh gạt tỷ lệ với tốc độ quay của bơm.
- Van điều hỏa: Được lắp ở đầu phía ngòai của đầu thủy lực, có hai nhiệm vụ khác
nhau:
+ Kiểm tra áp suất nhiên liệu bằng cách giữ một tỷ lệ xác định giữa áp suất bơm
chuyển và số vòng quay.
+ Bảo đấm cắt mạch cung cấp cho bơm chuyếnkhi động cơ dừng, đồng thời cho phép
cung cấp nhiên liệu vào các rãnh của đầu thủy lực.
Nhiên liệu đi vào cốc 11 tiếp tục qua lưới lọc 2, vào đường hút của bơm chuyến. Nhiên liệu đưới áp suất của bơm chuyếnđi qua lỗ 7 và tác dụng vào mặt dưới của piston 5, nâng piston lên, thẳng lò xo điều hòa 3.
Bơm cao áp vòi phun
Bơm cao áp vòi phun có kết cấu đơn giản. Vòi phun được gắn trực tiếp trên bơm nên
không có sự rò rÍ nhiên liệu cao áp. Vì vậy bơm cao áp vỏi phun làm việc có độ tin cậy
cao. Tuy nhiên dẫn động bơm cao áp vòi phun phức tạp vì bơm cao áp vỏi phun được lắp trên nắp máy. Sự làm việc đồng bộ giữa bơm-vỏi phun trên các bơm là không đồng nhất. Trong bơm cao áp vỏi phun, do thể tích khoảng nén nhỏ và không có quá trình đao
động trong thời kỳ đẩy nên có thể báo đắm mức áp suất phun thực tế không hạn chế và
tính chu kỳ làm việc của động cơ cao.
Bơm cao áp vòi phun được lắp ngay trên đầu xy lanh động cơ và được vận hành bằng
cần nâng của cam. Nó có cấu tạo gần giống với bơm cao áp thẳng hàng, chỉ khác là toàn bộ vỏi phun và bơm cao áp được kết hợp thành một khối duy nhất và có loại bổ đi van cao áp. Thân của đầu vỏi phun được giữ chặt vào vỏ bơm bằng một ống chặn 20, ống này ép sát vòi phun vào tấm chặn 19 nằm tiếp giáp với đầu dưới của xy lanh bơm.
Việc điều chỉnh lượng nhiên liệu cấp cho chu trình, thời điểm phun cũng gần giống với bơm cao áp thắng hàng đã được mô tả.

Hình 9.27 - Kết cấu bơm cao áp vòi phun.
1-Lỗ phun; 2-Ố kim phun; 3-Kim phun; 4-Lò xo; 5-Vồ đầu bơm; 6-Bạc quay điều
khiển; 7-Piston; 8-Vỏ đâu bơm; 9-Chốt giới hạn; 10-Ống dẫn hướng ; 11-Lỗ định vị; 12-
Lò xo; 13-Đĩa lỏ xo ; 14,15,16,17-Bộ phận lọc; 18-Thanh răng điều khiến; 19-Bạc; 20-
Ống chặn;
CÁC DẠNG CẤU TẠO ĐẶC BIỆT CỦA BƠM CAO ÁP
Bơm cao áp dẫn động bằng lực lò xo và lực thể khí
Để cải thiện điều kiện làm việc của lò sinh khí piston tự đo và của động cơ vận tái khi làm việc ở chế độ chuyển tiếp cũng như để mở rộng phạm vi phụ tái của động cơ Diesel cường hóa, người ta đã sử dụng các loại bơm cao áp dẫn động bằng lực lỏ xo hoặc bằng lực khí thế.

Hình 9.28- Bơm cao áp "Ganz".
I-Ống hạn chế; 2-Con đội; 3-Chốt đấy; 4-Chêm điều chỉnh; 5-Thanh kéo; 6-Giá tỳ
của chêm; 7-Vít điều chỉnh; 8-Van bi; 9-Van hút; 10-Piston; 11-Lò xo của piston; 12-
Cam; 13-Tay đòn; 14-Lỏ xo công tác.
Trên hình (2.12) giới thiệu mặt cắt của bơm cao áp dẫn động bằng lực lỏ xo lắp trên
động cơ "Ganz". Trong bơm nảy lỏ xo 14 đấy piston bơm cao áp 10 đi lên để bơm nhiên liệu tới các vòi phun. Hành trình đi xuống của piston 10 được thực hiện bằng một cơ cấu đặc biệt gồm tay đỏn 13 và cam 12 quay ngược chiều kim đồng hề. Khi piston bớm cao áp đi xuống „ nhiên liệu từ không gian hình vành khăn ở khu vực giữa xy lanh bơm cao áp đi qua van hút 9 vào không gian phía trên pis(on thực hiện quá trình nạp nhiên liệu. Hành trình có ích của piston bơm cao áp được điều chính bằng miếng chêm 4, bộ điều tốc điều khiển miếng chêm này vận động theo hướng vuông góc với mặt hình vẽ. Quy luật cung cấp nhiên liệu của bơm cao áp dẫn động bằng lực lò xo không phụ thuộc vào quy luật động học của cơ cấu truyền động trong lò sinh khí piston tự do.
Nhược điểm chính của loại này là lò xo nhanh bị hư hỏng và cấu tạo tương đối phức tạp, vì vậy không được dùng rộng rãi.
-Bơm cao áp và vòi phun của động cơ cường hóa.
Trong các loại động cơ Diesel cường hóa theo áp suất tăng áp và theo số vỏng quay
thưởng rất khó báo đảm cho quá trình cung cấp nhiên liệu được ốn định trong phạm vi
thay đổi rộng về số vòng quay và về lượng nhiên liệu cung cấp cho chu trình. Cấu tạo
thông thưởng của bơm cao áp dẫn động cơ khí không thế đáp ứng theo yêu cầu cường
hóa, vì vậy người ta đã thiết kế và chế tạo một loại bơm cao áp và vòi phun đặc biệt nhằm giải quyết yêu cầu này.

Hình 9.29 - Bơm cao áp và vòi phun của động cơ cường hóa.
Trên hình (9.29) giới thiệu một bơm cao áp điều chỉnh lượng nhiên liệu cấp cho chu
trình bằng van piston và một vòi phun kiểu dự trữ. Các đường nhiên liệu đi vào xy lanh
và dường nhiên liệu từ xy lanh xả ra được tách riêng. Trong bơm cao áp không có van cao áp. Piston của bơm cao áp được bánh lệch tâm dẫn động thông qua con đội 13. Bản thân piston vừa làm nhiệm vụ điểu chỉnh lượng nhiên liệu cấp cho chu trinh , vừa cung cấp nhiên liệu đi qua lỗ tiết lưu B vào không gian dự trữ A của vòi phun. Áp suất nhiên liệu trong đường ống dự trữ của vỏi phun ép chặt van kim 19 lên mặt phẳng của vòi phun 15 làm cho vỏi phun thêm kín khít.
Khi gờ xả của bơm cao áp bắt đầu mở, áp suất trên đường ống cao áp bị giảm đột
ngột, chính lúc đó cũng bắt đầu quá trình phun nhiên liệu. Vì không có van cao áp trong
bơm và dung tích của đường ống rất nhỏ nên áp suất của nhiên liệu tác dụng lên van kim cũng giảm xuống đột ngột. Do chênh lệch áp suất nhiên liệu trong không gian dự trữ và trong đường ống cao áp nên van kim bật mở và nhiên liệu được phun vào xy lanh động cơ. Quá trình phun kết thúc vào lúc áp suất của nhiên liệu trong không gian dự trữ tác dụng lên van kim tạo ra một lực đẩy bằng lực ép ban đầu của lỏ xo 17 ép lên van kim.
Bơm cao áp và vòi phun này bảo đảm cho động cơ làm việc rất ốn định ở chế độ không tải và ít tải. Do bơm cao áp hoạt động ở chế độ vòng quay cao nên áp suất của nhiên liệu trong đường ống đưa nhiên liệu vào bơm cao áp tối thiểu cũng phải bằng /m2 mới có thế bảo đảm cho quả trình phun nhiên liệu được ổn định.
Bơm cao áp của động cơ cỡ lớn
Bơm cao áp đặt trên động cơ tàu thủy và động cơ tĩnh tại cố lớn đều là bơm cao áp loại không có trục cam trên bơm mà là các bơm lẻ do cam của động cơ dẫn động. Bánh cam dẫn động bơm cao áp được bắt chặt trên trục cam của động cơ. Mối liên kết ấy phải bảo đảm dễ dàng thay đối vị trí góc khi tiến hành điều chính góc phun sớm. Loại bơm này thưởng dùng biện pháp mở cưỡng bức một van xã hoặc một van đặc biệt (như mép xả trên piston) để điều chính lượng nhiên liệu cấp cho chu trình.
Trên hình (9.30) giới thiệu bơm cao áp điều chỉnh lượng nhiên liệu cấp cho chu trình
bằng van piston của động cơ 50VTBE 110, đường kính piston bơm cao áp là 28mm và
lượng nhiên liệu cấp cho chu trình là 9,15
Lượng nhiên liệu cấp cho chu trình của bơm này được điều chính bằng cách thay đối
thời gian kết thúc quá trình cấp nhiên liệu. Trong bơm không có van cao áp, vì vậy sau khi kết thúc quá trình cấp nhiên liệu, áp suất trên đường ống cao áp bị giảm hoàn toàn.

Hình 9.30 - Bơm cao áp của động cơ 50VTBE 110.
Công suất lít N¡ và công suất xy lanh N, của động cơ Diesel hiện nay ngày một tăng
nên lượng nhiên liệu cung cấp cho chu trình cũng tăng theo, trong khi đó nhờ biện pháp
nâng cao tốc độ và áp suất nhiên liệu trong quá trình phun nên thời gian cấp nhiên liệu
tính theo góc quay trục khuýu thay đổi không đáng kế. Muốn đạt được quy luật cung cấp
nhiên liệu cần thiết phải phun nhiên liệu khi piston bơm cao áp đang chạy ở tốc độ cao,
đến lúc kết thúc quá trình phun phải xả và làm giảm nhanh áp suất nhiên liệu trên đường
Tin tức nổi bật
Sửa các lỗi màn hình ô tô
Đèn Báo Lỗi Động Cơ Sáng Trên Ô Tô - Lỗi nhiều chủ xe thường gặp phải
Nguyên nhân & cách xử lý: Ô tô bị ì, vòng tua cao nhưng tốc độ thấp
Sửa Xe Vios Điều Hòa Ô Tô Không Mát & Tiếng Rít Từ Động Cơ
Xử lý chảy dầu và đại tu hệ thống gầm xe ô tô
Nguyên nhân, dấu hiệu & cách khắc phục xe ô tô báo lỗi khí thải
Lỗi chống trơn trượt, cân bằng điện tử ESP
Dấu hiệu hỏng giảm xóc & cách sửa chữa, bảo dưỡng, thay thế
Xe vào số bị giật khi khởi động và sau khi đi ổn định
Tại sao cần vệ sinh họng nạp & van egr ? Hậu quả ? Phương pháp bắn trấu?
BẢNG GIÁ BÌNH ẮC QUY VARTA NĂM 2024
Báo giá sửa chữa xe công trình năm 2024
Sửa chữa điều hòa ô tô