
Bơm xăng: Cấu tạo bơm xăng ô tô, nguyên lý làm việc bơm xăng
Bơm xăng là gì ?
Bơm xăng là chi tiết phụ tùng thuộc hệ thống cung cấp nhiên liệu, bơm xăng có tác dụng luân chuyển xăng từ thùng xăng lên động cơ xăng. Bơm xăng trong tiếng anh được gọi là (Gasoline) Fuel Pump. Trong các loại bơm dẫn động cơ khí thì bớm màng được sử dụng nhiều nhất. Bơm màng có thế điều chỉnh lưu lượng xăng một cách tự động, trong lúc thay đổi lưu lượng thì áp suất xăng ở phía sau bơm vẫn giữ nguyên không đổi.
Cấu tạo bơm xăng

Hình 9.4: Bơm xăng kiểu màng
1.Cần dẫn động; 2. Tay kéo bơm tay; 3. Thanh; 4. Lỏ xo; 5. Màng; 6. Van
Bơm xăng kiểu màng như hình.9.4.làm việc như sau:
Khi bánh lệch tâm của trục phân phối tác động lên đầu ngoài của đòn bẫy 1 của bơm, màng 5 của thanh 3 kéo xuống phía đưới. Ở khoang phía trên màng tạo ra giảm áp;
van giảm áp 6 mỏ ra dưới tác động của giảm áp này. Nhiên liệu từ thùng chứa đi qua lưới lọc 7, điển đầy vào khoang phía trên màng. Khi vấu của bánh lệch tâm rởi khỏi cần 1, lò xo 10 đưa cần trổ về vị trí ban đầu. Đồng thời dưới tác động của lò xo 4, mảng 5 cong lên phía trên. Ấp suất của nhiên liệu phái trên màng làm đóng các van nạp và van van xả 9. Nhiên liệu bị bơm đẩy về buồng phao của bộ chế hoà khí. Khi nhiên liệu điển đây buồng phao, màng của bơm vẫn ở vị trí dưới, còn cần 1 chuyển động không tái dọc theo thanh 3. Trong trường hợp nảy, nhiên liệu không đi vào bộ chế hoà khí.
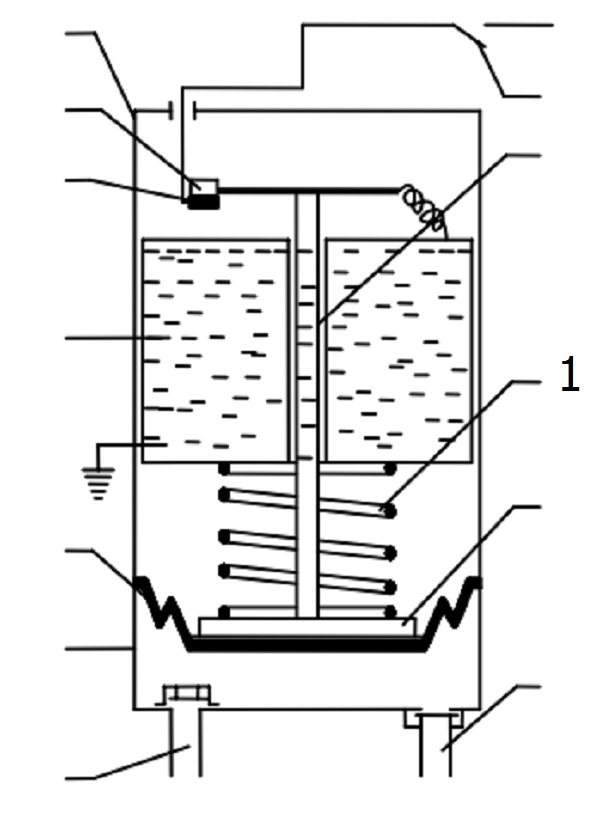
Bơm xăng kiểu màng điều khiển bằng điện

Hình 9.5. Bơm màng điều khiển bằng điện
1. Van hút; 2. Nắp bơm; 3.Màng bơm; 4. Cuộn dây nam châm điện; 5. Vít cố định; 6. Vít di đông lắp với tru bơm: 7. Thân bơm: 8. Công
Bơm xăng điều khiến bằng điện có những ưu điểm sau:
- Ở bắt kỳ tốc độ nào của động cơ bơm vẫn cho một lưu lượng tối đa, bộ chế hoà
- khí luôn luôn được cung cấp xăng với một áp lực không đối.
- Không bắt buộc phải lắp bơm ngay trên động cơ mà lắp ở nơi nào thuận tiện nhất
- và cách xa động cơ, như thế ít gây nguy hiểm (cháy đo rÍ xăng ra ngoài).
- Khi động cơ chưa làm việc vẫn bơm xăng được mà không cần bơm tay.
Nguyên lý làm việc bơm xăng
Khi chưa đóng công tắc điện bớm chưa hoạt động, lỏ xo bơm đấy màng bơm xuống, kéo theo trụ bơm làm cho cặp vít đóng lại. Khi đóng công tắc điện, dòng điện được nối qua cặp vít đi vào cuộn dây tạo thành nam châm điện. Khi đó sắt (11) và màng bơm bị hút lên tạo ra độ chêch áp ở buồng bơm làm cho van hút mỏ ra, xăng được hút vào bơm.
Đồng thời lúc bấy giỏ vít đi động cũng dịch chuyển đi lên theo trục bơm làm cho cặp vít mổ ra, dòng điện bị ngắt, nam châm biến mất, miếng sắt (11) và màng bơm bị lò xo đấy xuống, ép xăng mở van thoát để đến bộ chế hoà khí. Khi bầu phao của bộ chế hoà khí đã đây xăng, lỏ xo bơm không đấy màng bơm xuống được, bơm ngừng làm việc. Khuyết điểm chính của loại bớm điều khiến bằng điện là khối lượng của cụm bơm lớn và giá thành chế tạo phần điện tương đối cao.
Tin tức nổi bật
Chênh lệch giá vàng trong nước và thế giới 14/4/2026
Cách quy đổi giá vàng thế giới
Vàng miếng, vàng thỏi, vàng nguyên liệu là gì?
Giá vàng, bạc áp lực giảm do lo ngại lạm phát (theo kitco.com)
So sánh giá vàng Sjc, Doji, Pnj, Phú Quý hôm nay