
Điểm chết trên là gì ? Điểm chết dưới là gì ?
Trước khi xét nguyên lý làm việc của động có cụ thể, ta làm quen với một vài khái niệm có bản để thuận tiện trong quá trình khảo sát sau này

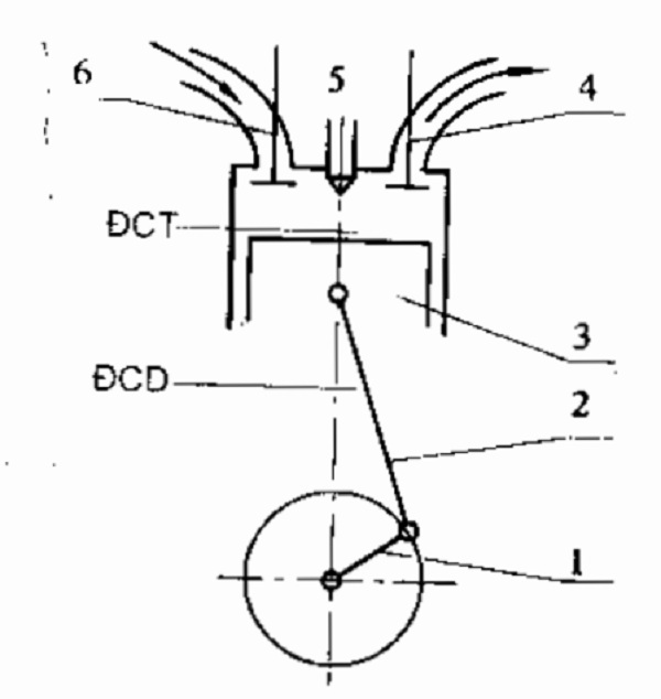
Điểm chết là gì ?
Để hiểu được các khái niệm này thì trước hết bạn phải tìm hiểu về các khái niệm về cơ cấu trục khuỷu thanh truyền, hoạt động của piston, xupap.
Điểm chết là vị trí mà tại đó piston đổi chiều chuyển động. Như bạn đã biết piston di chuyển theo 1 phương và chuyển động đi lên hoặc đi xuống. Chính thời điểm piston chuyển từ trạng thái đi lên rồi đi xuống hoặc ngược lại đi xuống rồi đi lên đó chính là vị trí piston đổi chiều chuyển động.
Có hai diểm chết là điểm chết trên và điểm chết dưới.
Điểm chết trên là gì ?
Điểm chết trên là vị trí mà tại đó pision đổi chiều chuyển động đang từ chuyển động tịnh tiến đi lên sang chuyển động tịnh tiến đi xuống. Khi ở điểm chết chết trên thì thể tích buồng đốt của động cơ là nhỏ nhất.
Điểm chết trên được viết tắt là ĐCT. Còn trong tiếng anh Điểm Chết Trên được dịch là Top Dead Center và được viết tắt bằng 3 chữ cái đầu (TDC)
Điểm chết dưới là gì ?
Điểm chết trên là vị trí mà tại đó pision đổi chiều chuyển động đang từ chuyển động tịnh tiến đi xuống sang chuyển động tịnh tiến đi lên. Khi ở điểm chết chết trên thì thể tích buồng đốt của động cơ là lớn nhất.
Điểm chết dưới được viết tắt là ĐCD. Còn trong tiếng anh Điểm Chết Trên được dịch là Bottom Dead Center và được viết tắt bằng 3 chữ cái đầu (BDC)
Tin tức nổi bật
Sửa các lỗi màn hình ô tô
Đèn Báo Lỗi Động Cơ Sáng Trên Ô Tô - Lỗi nhiều chủ xe thường gặp phải
Nguyên nhân & cách xử lý: Ô tô bị ì, vòng tua cao nhưng tốc độ thấp
Sửa Xe Vios Điều Hòa Ô Tô Không Mát & Tiếng Rít Từ Động Cơ
Xử lý chảy dầu và đại tu hệ thống gầm xe ô tô
Nguyên nhân, dấu hiệu & cách khắc phục xe ô tô báo lỗi khí thải
Lỗi chống trơn trượt, cân bằng điện tử ESP
Dấu hiệu hỏng giảm xóc & cách sửa chữa, bảo dưỡng, thay thế
Xe vào số bị giật khi khởi động và sau khi đi ổn định
Tại sao cần vệ sinh họng nạp & van egr ? Hậu quả ? Phương pháp bắn trấu?
BẢNG GIÁ BÌNH ẮC QUY VARTA NĂM 2024
Báo giá sửa chữa xe công trình năm 2024
Sửa chữa điều hòa ô tô