
Đồng hồ báo nhiên liệu ( báo xăng, báo dầu ) trên xe ô tô
Đồng hồ báo nhiên liệu là gì ?
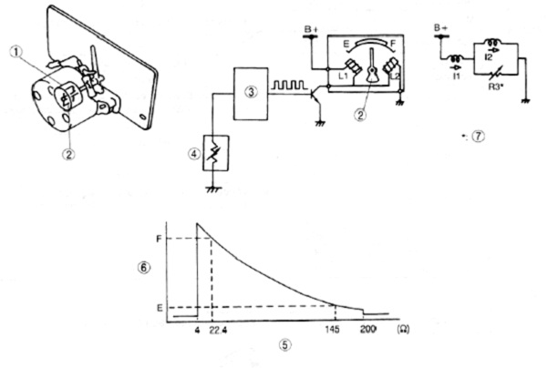
• Đồng hồ báo nhiên liệu là loại kim tự trở lại số 0 và hoạt động bởi cuộn dây hình chữ thập. Kim đồng hồ nằm dưới mức E khi chìa khoá điện xoay về vị trí Lock.
Hoạt động đồng hồ báo nhiên liệu ( báo xăng, báo dầu ) trên xe ô tô
• Thỏi kim loại chuyển động (movable iron piece) được đặt trong một bộ giảm chấn động bằng dầu, nó luôn chịu tác động bởi lực điện từ sinh ra từ hai cuộn dây L1 và L2.
• Một bộ vi sử lý đặt trong bảng táp lô luôn giám sát sự thay đổi điện trở từ bộ cảm biến mức nhiên liệu trong thùng rồi chuyển đổi sang dạng tín hiệu kiểu chu kỳ điều khiển truyền về đồng hồ báo mức nhiên liệu.
• Khi mức nhiên liệu trong thùng tăng lên, dòng điện I1 chạy qua L1 sẽ tăng (từ trường của cuộn L1 tăng) và dòng điện I2 chạy qua L2 sẽ giảm xuống (từ trường của cuộn L2 giảm) bởi vì tín hiệu ra từ bộ vi sử lý (tín hiệu dạng chu kỳ điều khiển) tăng theo mức nhiên liệu. Vì vậy mà từ lực sẽ làm cho kim của đồng hồ chuyển động theo chiều có chữ F.
• Khi mức nhiên liệu trong thùng giảm xuống, dòng điện I1 chạy qua L1 giảm (từ trường của cuộn L1 giảm) và dòng điện I2 chạy qua L2 sẽ tăng (từ trường của cuộn L2 tăng) bởi vì tín hiệu ra từ bộ vi sử lý (tín hiệu dạng chu kỳ điều khiển) giảm xuống. Vì vậy mà từ lực sẽ làm cho kim của đồng hồ chuyển động theo chiều có chữ E.
• Khi xoay chìa khóa điện về vị trí Lock, do tác động của từ trường kim đồng hồ sẽ chuyền động về vị trí ban đầu (nằm dưới chữ E).
• Nếu bộ vi sử lý nhận được tín hiệu từ cảm biến báo mức nhiên liệu cao hoặc thấp hơn gía trị cho phép nó sẽ cho hệ thống báo nhiên liệu hoạt động ở một chế độ cảm biến báo mức nhiên liệu sai hoặc hệ thống dây trong mạch có lỗi và mặc định kim đồng hồ luôn nằm ở mức dưới E.
Sơ đồ mạch điện đồng hồ báo nhiên liệu ( báo xăng, báo dầu ) trên xe ô tô

1 Bộ giảm chấn bằng dầu
5 Điện trở của cảm biến báo nhiên liêu
2 Thỏi kim loại (movable iron piec)
6 Vị trí của kim
3 Bộ vi sử lý
7 R3 Stands for duty value
4 Cảm biến báo mức nhiên liệu
Tin tức nổi bật
Chênh lệch giá vàng trong nước và thế giới 14/4/2026
Cách quy đổi giá vàng thế giới
Vàng miếng, vàng thỏi, vàng nguyên liệu là gì?
Giá vàng, bạc áp lực giảm do lo ngại lạm phát (theo kitco.com)
So sánh giá vàng Sjc, Doji, Pnj, Phú Quý hôm nay