
Hướng dẫn tháo, lắp thước lái & tháo rã các chi tiết của thước lái
Hướng dẫn tháo, lắp thước lái dầu
Sơ đồ tháo thước lái dầu


Sơ đồ tháo rã (tháo rời) các chi tiết của thước lái dầu

Hướng dẫn tháo thước lái dầu
Bước 1. Để xe ở vị trí thẳng về phía trước.
Bước 2. Tháo lốp xe.
Bước 3. Tháo vỏ che phía dưới ra khỏi xe.
Bước 4. Tháo chốt định vị ra khỏi bộ phận khớp cầu rô-tuyn lái ngoài, sau đó nới lỏng đai ốc
Bước 5. Tháo rô tuyn lái ngoài ra khỏi khớp nối hệ thống lái để không làm hỏng vỏ cao su chắn bụi khớp cầu bằng vam tay (A)
LƯU Ý: Siết tạm đai ốc để tránh làm hỏng ren và tránh để vam tay bị tuột đột ngột.

Bước 6. Tháo ống dẫn cao áp và ống hồi của ống thủy lực, sau đó xả dầu trợ lực lái.
LƯU Ý: Không được sử dụng lại dầu trợ lực lái đã xả ra.
Bước 7. Tách TRỤC LÁI XE Ô TÔ ra khỏi cụm bánh răng hệ thống lái.

Bước 8. Tháo bu-lông gắn và các đai ốc cụm bánh răng hệ thống lái
Bước 9. Tháo cụm bánh răng hệ thống lái.
Hướng dẫn lắp thước lái dầu
Chú ý các mục sau và lắp theo thứ tự ngược lại với lúc tháo.
LƯU Ý:
Cáp xoắn có thể bị cắt nếu vô-lăng quay khi tách riêng cụm CỌC LÁI - TRỤ LÁI XE Ô TÔ và cụm bánh răng hệ thống lái. Đảm bảo cố định vô-lăng bằng dải dây để nó không quay.
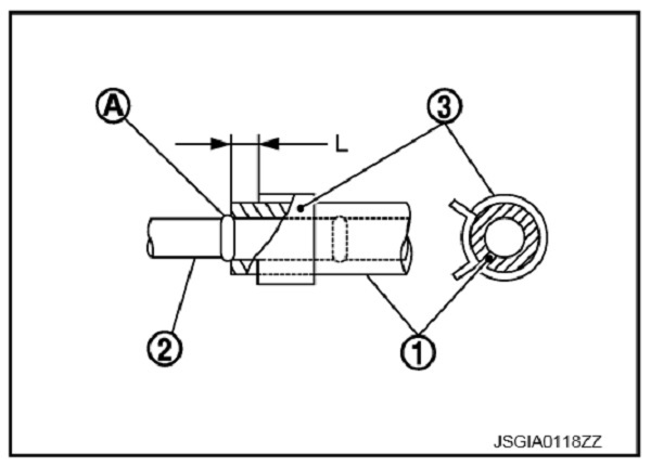
• Khi lắp ống mềm áp suất thấp, tham khảo hình vẽ.
LƯU Ý:
• Không được bôi dầu lên ống mềm 1 và ống cứng 2 .
• Gài chặt ống mềm tới khi nó tiếp xúc với ống cuộn A của ống cứng.
• Để khe hở (L) khi lắp kẹp với L : 3 – 8 mm (0,12 – 0,31 in)

• Sau khi lắp, xả khí ra khỏi hệ thống thủy lực của hệ thống lái.
• Thực hiện siết lần cuối các đai ốc và các bu-lông trên từng bộ phận trong điều kiện không tải khi lốp xe ở trên bề mặt phẳng khi tháo cụm bánh răng hệ thống lái. Kiểm tra căn chỉnh bánh xe.
Hướng dẫn tháo rã các chi tiết thước lái dầu
LƯU Ý:
• Tháo rời và lắp ráp cụm bánh răng hệ thống lái bằng cách dùng miếng đồng cố định khu vực gắn bằng một ê-tô.
• Dùng dầu hỏa lau sạch cụm bánh răng hệ thống lái trước khi tháo. Cẩn thận không làm bắn hay dính dầu hỏa vào đầu nối cổng xả hay cổng nạp.
1. Nới lỏng đai ốc khóa rô-tuyn lái ngoài, và tháo rô-tuyn lái ngoài.
2. Tháo kẹp vỏ chắn bụi, rồi tháo vỏ chắn bụi ra khỏi rô-tuyn lái trong.
LƯU Ý: Không được làm hỏng rô-tuyn lái trong và cụm vỏ hộp số khi tháo vỏ chắn bụi. Cần phải thay rô- tuyn lái trong và cụm vỏ hộp số nếu rô-tuyn lái trong và cụm vỏ hộp số bị hỏng vì nó có thể khiến vật lạ xâm nhập.
Hướng dẫn lắp các chi tiết của thước lái dầu xe ô tô
LƯU Ý:
• Tháo và lắp cụm bánh răng hệ thống lái bằng cách dùng miếng đồng cố định khu vực gắn bằng một ê-tô.
• Dùng dầu hỏa lau sạch cụm bánh răng hệ thống lái trước khi tháo. Cẩn thận không làm bắn hay dính dầu hỏa vào đầu nối cổng xả hay cổng nạp.
1. Lắp đầu to của vỏ cao su chắn bụi vào cụm vỏ hộp số.
2. Lắp kẹp cao su chắn bụi vào đầu to của vỏ cao su chắn bụi.
3. Lắp đầu nhỏ của vỏ cao su chắn bụi vào rãnh gắn rô-tuyn lái trong.
4. Lắp kẹp vỏ cao su chắn bụi vào đầu nhỏ của vỏ cao su chắn bụi.

5. Điều chỉnh rô-tuyn lái trong đạt độ dài (L) tiêu chuẩn, sau đó siết đai ốc khóa 1 tới lực siết chỉ định. Kiểm tra lại độ dài sau khi siết chặt đai ốc khóa. Độ dài rô-tuyn lái trong (L) :
LƯU Ý:
• Điều chỉnh độ chụm sau quy trình này. Sau khi điều chỉnh độ chụm, độ dài đạt được không cần đạt giá trị trên.

• Khi siết đai ốc khóa, đảm bảo cố định rô-tuyn lái ngoài bằng cờ-lê hoặc dụng cụ tương đương để ngăn khớp cầu tiếp xúc với khớp nối.
Hướng dẫn kiểm tra sau khi lắp thước lái dầu
• Kiểm tra xem vô-lăng quay êm không khi nó được xoay nhiều lần hết cỡ sang trái và sang phải.
• Kiểm tra độ rơ vô-lăng, vô-lăng ở vị trí trung gian, lực quay vô-lăng, và góc quay bánh trước.
• Kiểm tra mức dầu, rò rỉ dầu và hệ thống thuỷ lực xả khí.
• Điều chỉnh vị trí trung gian cảm biến góc hệ thống lái (Có VDC).
Hướng dẫn kiểm tra sau khi tháo thước lái dầu
Vỏ cao su chắn bụi: Kiểm tra nứt vỏ cao su chắn bụi, thay nếu phát hiện hư hỏng.
Cụm Vỏ Thước Lái: Kiểm tra hư hỏng hay xước (thành trong) vỏ thước lái. Thay nếu thấy hư hỏng.
Rô-tuyn lái Ngoài và Rô-tuyn lái Trong: Kiểm tra các mục sau và thay các thành phần không đạt tiêu chuẩn.
Kiểm tra lực xoay khớp cầu - rô tuyn lái ngoài: Móc cân lò xo ở điểm và kéo cân lò xo. Đảm bảo cân lò xo đọc được giá trị tiêu chuẩn khi vít cầu và rô-tuyn lái trong bắt đầu di chuyển. Thay rô-tuyn lái trong và rô-tuyn lái ngoài nếu nó nằm ngoài giá trị tiêu chuẩn.
Điểm đo của rô-tuyn lái ngoài : Phía trên vít cầu
Điểm đo của rô-tuyn lái trong: Điểm như trên hình vẽ
Lực xoay (Giá trị cân lò xo)
• Đảm bảo chỉ số nằm trong phạm vi chỉ định sau đây sử dụng đồng hồ đo trước tải (A) (SST: ST3127S000). Thay rô-tuyn lái ngoài nếu chỉ số nằm ngoài giá trị chỉ định.
Mô men quay :

KIỂM TRA ĐỘ RƠ DỌC TRỤC KHỚP CẦU - RÔ TUYN LÁI NGOÀI
• Đặt tải hướng trục 490 N (50 kg,110 lb) lên vít cầu. Sử dụng đồng hồ số đo độ di chuyển của vít cầu và đảm bảo giá trị nằm trong phạm vi quy định. Thay rô-tuyn lái ngoài và rô-tuyn lái trong nếu giá trị đo nằm ngoài tiêu chuẩn.
Độ rơ dọc trục

Hướng dẫn tháo, lắp thước lái điện xe ô tô
Hình ảnh các bộ phận trên dầm đỡ và thước lái điện
HÌNH ẢNH 1

| *A | cho Hộp số thường | *B | cho Hộp số vô cấp |
| *1 | TẤM CHẮN PHÍA DƯỚI BÊN TRÁI ĐỘNG CƠ | *2 | TẤM CHẮN PHÍA DƯỚI BÊN PHẢI ĐỘNG CƠ |
HÌNH ẢNH 2

| *1 | TẤM CHỐNG ỒN NẮP LỖ TRỤC LÁI | *2 | ĐÒN TREO DƯỚI PHÍA TRƯỚC SỐ 1 BÊN TRÁI |
| *3 | ĐÒN TREO DƯỚI PHÍA TRƯỚC SỐ 1 BÊN PHẢI | *4 | CỤM THANH NỐI THANH ỔN ĐỊNH TRƯỚC TRÁI |
| *5 | CỤM THANH NỐI THANH ỔN ĐỊNH TRƯỚC PHẢI | *6 | DẦM NGANG HỆ THỐNG TREO TRƯỚC |
| *7 | NẮP CHE LỖ TRỤC LÁI SỐ 1 | *8 | CỤM TRỤC LÁI TRUNG GIAN SỐ 2 |
| *9 | ĐẦU THANH NỐI BÊN TRÁI | *10 | ĐẦU THANH NỐI BÊN PHẢI |
| *11 | CAO SU CHÂN MÁY PHÍA SAU | *12 | CHỐT CHẺ |
|
|
N*m: Mômen tiêu chuẩn | ● | Chi tiết không dùng lại |
HÌNH ẢNH 3

| *1 | DẦM NGANG HỆ THỐNG TREO TRƯỚC | *2 | NẮP CHE LỖ TRỤC LÁI SỐ 1 |
| *3 | TRỤC LÁI TRUNG GIAN | *4 | CỤM THƯỚC LÁI |
|
|
N*m: Mômen tiêu chuẩn | ● | Chi tiết không dùng lại |
HÌNH ẢNH 4

| *1 | CỤM CƠ CẤU LÁI | *2 | ĐẦU THANH NỐI BÊN TRÁI |
| *3 | ĐẦU THANH NỐI BÊN PHẢI | - | - |
|
|
N*m: Mômen tiêu chuẩn | - | - |
HÌNH ẢNH 5

| *1 | CAO SU CHẮN BỤI THƯỚC LÁI SỐ 1 | *2 | KẸP CAO SU CHẮN BỤI THƯỚC LÁI SỐ 1 |
| *3 | CAO SU CHẮN BỤI THƯỚC LÁI SỐ 2 | *4 | KẸP CAO SU CHẮN BỤI THƯỚC LÁI SỐ 2 |
| *5 | KẸP CAO SU CHẮN BỤI THANH RĂNG | - | - |
| ● | Chi tiết không dùng lại |
|
Mỡ glycol gốc xà phòng lithium |
Quy trình tháo thước lái điện
1.ĐẶT CÁC BÁNH TRƯỚC HƯỚNG THẲNG VỀ PHÍA TRƯỚC
2.CỐ ĐỊNH VÔ LĂNG
a. Buộc chặt vô lăng bằng đai an toàn để tránh cho nó khỏi bị quay.
GỢI Ý:
Thao tác này để tránh làm hỏng cáp xoắn.
3.THÁO TẤM CÁCH ÂM NẮP LỖ TRỤC LÁI
4.TÁCH CỤM TRỤC LÁI TRUNG GIAN SỐ 2 RA
5.THÁO CỤM NẮP LỖ TRỤC LÁI SỐ 1
a. Tháo 3 kẹp (A), nhả khớp kẹp (B) ra khỏi thân xe và tháo nắp che lỗ trục lái số 1.
LƯU Ý:
Hãy chú ý không làm hỏng các kẹp (A) và (B).
HÌNH ẢNH 6

6.THÁO CÁC BÁNH TRƯỚC
7.THÁO TẤM ỐP PHÍA DƯỚI BÊN TRÁI ĐỘNG CƠ
8.THÁO TẤM ỐP PHÍA DƯỚI BÊN PHẢI ĐỘNG CƠ
9.TÁCH CỤM ĐẦU THANH NỐI BÊN TRÁI
a.Tháo chốt chẻ và đai ốc.
Lắp SST vào đầu thanh nối bên trái.
Mã SST 09960-20010 (09961-02060)
HÌNH ẢNH 7

LƯU Ý:
Chắc chắn các đầu phía trên của đầu thanh nối trái và SST đã được gióng thẳng nhau.
c.Kẹp SST bằng sợi dây.
LƯU Ý:
Hãy xiết chặt dây để buộc chắc SST vào cam lái, tránh cho SST khỏi bị rơi.
d.Dùng SST, tách đầu thanh nối bên trái ra khỏi cam lái.
Mã SST 09960-20010 (09961-02010)
HÌNH ẢNH 8

*a Dây buộc *b Vùng bôi mỡ molybdenum *c Hãy đặt cờ lê ở đây *d Quay *e Đai ốc định tâm
CHÚ Ý:
Bôi mỡ Molybdenum lên ren bulông và đầu SST.
LƯU Ý:
·Hãy xiết chặt dây để buộc chắc SST vào cam lái, tránh cho SST khỏi bị rơi.
·Lắp SST bằng đai ốc định tâm để A và B song song như hình vẽ. Nếu không, nắp chắn bụi khớp cầu có thể bị hỏng.
·Hãy đặt cờlê vào phần được chỉ ra trên hình vẽ.
·Không được làm hỏng nắp chắn bụi của phanh đĩa phía trước.
·Không làm hỏng nắp chắn bụi của khớp cầu.
·Không được làm hỏng cam lái.
10.TÁCH CỤM ĐẦU THANH NỐI BÊN PHẢI
GỢI Ý:
Thực hiện quy trình giống như đối với bên trái.
11.TÁCH CỤM THANH NỐI BỘ ỔN ĐỊNH TRƯỚC TRÁI
12.TÁCH CỤM THANH NỐI BỘ ỔN ĐỊNH TRƯỚC PHẢI
GỢI Ý:
Thực hiện quy trình giống như đối với bên trái.
13.TÁCH ĐÒN TREO DƯỚI PHÍA TRƯỚC SỐ 1 BÊN TRÁI
14.TẮCH ĐÒN TREO DƯỚI PHÍA TRƯỚC SỐ 1 BÊN PHẢI
GỢI Ý:
Thực hiện quy trình giống như đối với bên trái.
15.THÁO DẦM NGANG HỆ THỐNG TREO TRƯỚC
16.THÁO NẮP CHE LỖ TRỤC LÁI SỐ 1
Tháo nắp che lỗ trục lái số 1 ra khỏi cụm thước lái.
17.THÁO TRỤC LÁI TRUNG GIAN
a. Đánh dấu lên cụm trục lái trung gian và thước lái.
b.Tháo bu lông và trục lái trung gian ra khỏi thước lái.
HÌNH ẢNH 9

18.THÁO CỤM THƯỚC LÁI
Tháo 4 bu lông và cụm thước lái ra khỏi dầm ngang hệ thống treo trước.
19.BẮT CHẶT CỤM THƯỚC LÁI
Dùng SST, bắt chặt cụm thước lái lên lên êtô.
Mã SST 09612-00012
GỢI Ý:
Quấn băng dính lên SST trước khi sử dụng.
HÌNH ẢNH 10

20.THÁO ĐẦU THANH NỐI BÊN TRÁI
a. Đánh các dấu ghi nhớ lên thanh nối bên trái và cụm cơ cấu lái.
b.Tháo cụm thanh nối bên trái và đai ốc hãm.
HÌNH ẢNH 11

21.THÁO ĐẦU THANH NỐI BÊN PHẢI
GỢI Ý:
Thực hiện quy trình giống như đối với bên trái.
Quy trình tháo rã các chi tiết của thước lái điện
1.THÁO KẸP CAO SU CHẮN BỤI THANH RĂNG THƯỚC LÁI (phía bên trái)
Dùng kìm, tháo kẹp cao su chắn bụi thước lái.
2.THÁO KẸP CAO SU CHẮN BỤI THANH RĂNG THƯỚC LÁI (cho bên phải)
GỢI Ý:
Thực hiện quy trình giống như đối với bên trái.
3.THÁO KẸP CAO SU CHẮN BỤI THANH RĂNG SỐ 2
Dùng tô vít, tháo kẹp cao su chắn bụi thanh răng thước lái số 2.
HÌNH ẢNH 12

4.THÁO KẸP CAO SU CHẮN BỤI THANH RĂNG THƯỚC LÁI SỐ 1
GỢI Ý:
Thực hiện theo quy trình giống như cho kẹp số 2 của cao su chắn bụi thanh răng.
5.THÁO CAO SU CHẮN BỤI THANH RĂNG SỐ 2
6.THÁO CAO SU CHẮN BỤI THANH RĂNG SỐ 1
Quy trình kiểm tra thước lái điện
1.KIỂM TRA ĐẦU THANH NỐI BÊN TRÁI
HÌNH ẢNH 13

a. Cố định đầu thanh nối bên trái lên êtô bằng các tấm nhôm.
LƯU Ý:
Không xiết êtô quá chặt.
b.Lắp đai ốc vào vít cấy.
c.Lắc khớp cầu ra phía trước và sau 5 lần.
d.Dùng cờ lê cân lực và đai ốc, xoay vít cấy liên tục từ 2 đến 4 giây/vòng, và kiểm tra mômen quay ở vòng xoay thứ 5.
Mômen quay tiêu chuẩn: 0.29 đến 1.96 N*m (3 đến 19 kgf*cm)
Nếu mômen quay không nằm trong tiêu chuẩn, hãy thay mới đầu thanh nối bên trái.
e.Kiểm tra rằng cao su chắn bụi của khớp cầu không bị nứt và không bị dính mỡ bôi trơn.
Nếu nắp chắn bụi của khớp cầu bị nứt hoặc bị dính mỡ, hãy thay mới đầu thanh nối bên trái.
2.KIỂM TRA ĐẦU THANH NỐI BÊN PHẢI
GỢI Ý:
Thực hiện quy trình giống như đối với bên trái.
3.KIỂM TRA TỔNG TẢI TRỌNG BAN ĐẦU
HÌNH ẢNH 14

LƯU Ý:
a. Kiểm tra tổng tải trọng ở trạng thái không chất tải bằng tháo đầu thanh nối bên trái và phải và vít đầu thanh răng.
Lắp SST vào trục vít và quay nó sang trái và sang phải 5 lần hoặc hơn.
SST 09616-00011
b.Sử dụng SST và cờ lê cân lực, quay trục bánh răng liên tục với tốc độ 4 đến 6 giây/vòng để kiểm tra tổng tải trọng ban đầu của thước lái.
Tải trọng ban đầu tiêu chuẩn: 0.71 đến 1.15 N*m (8 đến 11 kgf*cm)
LƯU Ý:
Kiểm tra tổng tải trọng ban đầu xung quanh vị trí giữa của thanh răng.
Nếu tổng tải trọng ban đầu không nằm trong vùng tiêu chuẩn, hãy thay mới cơ cấu lái.
Quy trình lắp cao su chắn bụi của thước lái điện và dầu
1. LẮP CAO SU CHẮN BỤI THANH RĂNG SỐ 2
HÌNH ẢNH 15

a. Tra mỡ lithium gốc glycol vào phía trong của cao su chắn bụi thanh răng mới số 2.
b.Lắp cao su chắn bụi thanh răng số 2 vào rãnh trên vỏ thanh răng.
LƯU Ý:
·Hãy cẩn thận không được làm hỏng hoặc làm xoắn cao su chắn bụi thanh răng số 2.
·Hãy chắc chắn rằng cao su chắn bụi không bị bụi và cặn bẩn bám vào,
2.LẮP CAO SU CHẮN BỤI THANH RĂNG SỐ 1
GỢI Ý:
Thực hiện quy trình tương tự như với cao su chắn bụi thanh răng số 2.
3.LẮP KẸP CAO SU CHẮN BỤI THANH RĂNG SỐ 2
HÌNH ẢNH 16

Dùng SST, lắp kẹp cao su chắn bụi thanh răng số 2 như hình minh họa.
SST 09521-24010
Khe hở: 3.0 mm trở xuống
LƯU Ý:
Hãy cẩn thận không được làm hỏng cao su chắn bụi thanh răng số 2.
4.LẮP KẸP CAO SU CHẮN BỤI THANH RĂNG SỐ 1
GỢI Ý:
Thực hiện theo quy trình giống như cho kẹp số 2 của cao su chắn bụi thanh răng.
5.LẮP KẸP CAO SU CHẮN BỤI THANH RĂNG BÊN TRÁI
a.Dùng kìm, lắp kẹp cao su chắn bụi thanh răng thước lái.
6.LẮP KẸP CAO SU CHẮN BỤI THANH RĂNG BÊN PHẢI
GỢI Ý:
Thực hiện quy trình giống như đối với bên trái.
7.KIỂM TRA CỤM THƯỚC LÁI
HÌNH ẢNH 17

Sử dụng SST, quay trục bánh răng để xem cả hai cao su chắn bụi thanh răng thước lái trái và phải có dãn ra và thu lại êm không.
SST 09616-00011
Nếu không vận hành như tiêu chuẩn, hãy sử dụng quy trình tương tự cho kẹp cao su chắn bụi thước lái mới và lắp lại cao su chắn bụi thước lái.
Tin tức nổi bật
Chênh lệch giá vàng trong nước và thế giới 14/4/2026
Cách quy đổi giá vàng thế giới
Vàng miếng, vàng thỏi, vàng nguyên liệu là gì?
Giá vàng, bạc áp lực giảm do lo ngại lạm phát (theo kitco.com)
So sánh giá vàng Sjc, Doji, Pnj, Phú Quý hôm nay
Hướng dẫn tháo thước lái dầu