
Khái niệm các kỳ ( thì ), động cơ 2 kỳ, động cơ 4 kỳ
Kỳ ( thì ) là gì ?
Kỳ ( thì ) là một phần của chủ trình công tác xảy ra trong thời gian piston dịch chuyển một hành trình. Theo số kỳ người ta phân động có ra hai loại, động cơ 2 kỳ và động cơ 4 kỳ.
Động cơ 2 kỳ ( thì ) là gì ?
Động có 2 kỳ ( thì ) là động cơ có chu trình công tác được thực hiện sau 2 hành trình của piston hay 1 vòng quay của trục khuỷu. Đối với động cơ 2 kỳ thì 1 kỳ bao gồm hút -nén và 1 kỳ bao gồm nổ - xả. Đối với động cơ 2 kỳ thường được ứng dụng trên các dòng xe mô tô
Động cơ 4 kỳ ( thì ) là gì ?
Động cơ 4 kỳ là động cơ có chu trình cộng tác được thực hiện sau 4 hành trình của piston hay 2 vòng quay của trục khuỷu. Động cơ 4 kỳ có đầy đủ các kỳ hút, kỳ nén, kỳ nổ, kỳ xả. Động cơ 4 kỳ được áp dụng rộng rãi trên ô tô, máy công tác,máy công trình, máy nông nghiệp, máy nổ, máy phát điện ...

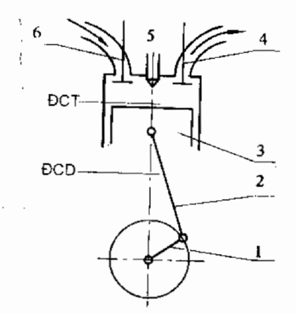
Hình 1-4. Sơ đồ động cơ
1. trục khuỷu, 2 Thanh truyền, 3 Piston, 4. Xupap, 5 Vòi phun (động cơ Diesel) hoặc bugi (động cơ xăng) 6. xupap nạp.
ĐCT, điểm chết trên ĐCD, điểm chết dưới
Tin tức nổi bật
Sửa các lỗi màn hình ô tô
Đèn Báo Lỗi Động Cơ Sáng Trên Ô Tô - Lỗi nhiều chủ xe thường gặp phải
Nguyên nhân & cách xử lý: Ô tô bị ì, vòng tua cao nhưng tốc độ thấp
Sửa Xe Vios Điều Hòa Ô Tô Không Mát & Tiếng Rít Từ Động Cơ
Xử lý chảy dầu và đại tu hệ thống gầm xe ô tô
Nguyên nhân, dấu hiệu & cách khắc phục xe ô tô báo lỗi khí thải
Lỗi chống trơn trượt, cân bằng điện tử ESP
Dấu hiệu hỏng giảm xóc & cách sửa chữa, bảo dưỡng, thay thế
Xe vào số bị giật khi khởi động và sau khi đi ổn định
Tại sao cần vệ sinh họng nạp & van egr ? Hậu quả ? Phương pháp bắn trấu?
BẢNG GIÁ BÌNH ẮC QUY VARTA NĂM 2024
Báo giá sửa chữa xe công trình năm 2024
Sửa chữa điều hòa ô tô