
Miếng kẹp chì lốp xe ô tô là gì? Cách sử dụng miếng kẹp chì để làm lốp xe ô tô
Miếng kẹp chì lốp xe ô tô là gì?
Miếng kẹp chì lốp xe ô tô là chi tiết giúp lốp xe ô tô tránh lực ly tâm do phân bố trọng lượng của lốp xe ô tô không đều dẫn tới tình trạng sinh ra lực ly tâm gây hư hỏng lốp nhanh chóng.
Miếng kẹp chì lốp là 1 chi tiết có khối lượng xác định gắn trên mâm xe, khi gắn trên mâm và được quay với tốc độ lớn bởi máy cân bằng động sẽ điều chỉnh số lượng miếng kẹp chì phù hợp cũng như vị trí gắn phù hợp để lốp xe ô tô được cân bằng khi chuyển động
Chuẩn bị trước khi kẹp chì để làm lốp xe ô tô
Kiểm tra biến dạng, nứt, ăn mòn và hư hỏng khác của bánh xe.
Sử dụng cần siết lực để kiểm tra độ lỏng của các đai ốc bánh xe.
Kiểm tra biến dạng, nứt, ăn mòn và hư hỏng khác trên toàn bộ phần viền tròn và cả hai bên của mỗi lốp xe.
Kiểm tra mài mòn, các vật lạ như đinh và viên đá nhỏ găm ở bề mặt của bánh xe.
Kiểm tra áp suất lốp nằm trong giá trị chỉ định.
Sử dụng hoá chất, loại có thể tách rời các chất, để loại bỏ băng dính hai mặt ra khỏi bánh xe.
• Không được làm xước bánh xe trong khi tháo.
• Sau khi loại bỏ băng dính hai mặt, lau sạch vết của hoá chất trên bánh xe.
Cách sử dụng miếng kẹp chì để làm lốp xe ô tô
• Chi tiết về quy trình điều chỉnh đối với mỗi loại máy cân bằng bánh xe không giống nhau. Vì vậy, hãy tham
khảo tài liệu hướng dẫn của từng loại.
• Nếu máy cân bằng bánh xe được cài đặt miếng cân bằng ở chế độ dán và chế độ đóng thì chọn và điều
chỉnh chế độ đóng phù hợp với các vành hợp kim nhôm.
1. Sử dụng lỗ giữa làm chuẩn để đặt bánh xe lên máy cân bằng bánh xe. Chạy máy cân bằng bánh xe.
2. Khi các giá trị của phần phía trong và phía ngoài không cân xứng hiện trên đồng hồ hiển thị của máy cân bằng bánh xe, nhân giá trị lệch phía ngoài với 5/3 để xác định miếng cân bằng cần phải sử dụng. Chọn miếng cân bằng phía ngoài có giá trị sát nhất với giá trị đã tính ở trên và lắp vào vị trí phía ngoài đã chỉ định hoặc ở góc đã chỉ định trên bánh xe.
LƯU Ý:
• Không được lắp miếng cân bằng phía trong trước khi lắp miếng cân bằng phía ngoài.
• Trước khi lắp miếng cân bằng, luôn phải lau chùi bề mặt lắp ghép của bánh xe.
A. Giá trị lệch đã hiển thị x 5/3 = trọng lượng cân bằng cần lắp.
Ví dụ:
23 g (0,81 oz) x 5/3 = 38,33 g (1,35 oz) x 40 g (1,41 oz) trọng lượng cân bằng (sát hơn với giá trị trọng lượng cân bằng đã tính toán)
CHÚ Ý:
Giá trị trọng lượng của miếng cân bằng phải sát hơn với giá trị
miếng cân bằng đã tính toán.
Ví dụ:
37,4 x 35 g (1,23 oz)
37,5 x 40 g (1,41 oz)

B. Lắp miếng cân bằng vào đúng vị trí.
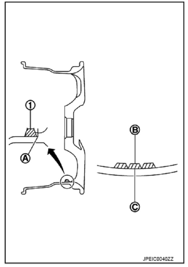
Khi lắp miếng cân bằng (1) vào các bánh xe, đặt nó vào phần có rãnh (A) trên thành phía trong của bánh xe như hình vẽ để phần giữa của miếng cân bằng (B) được căn thẳng với vị trí (góc) chỉ báo trên máy cân bằng bánh xe (C).
LƯU Ý:
• Luôn sử dụng các miếng cân bằng chính hiệu.
• Không sử dụng lại các miếng cân bằng đã dùng; luôn thay thế miếng cân bằng mới.
• Không được lắp ba hoặc nhiều hơn ba miếng cân bằng.

C. Nếu giá trị miếng cân bằng đã tính toán vượt quá 50 g (1,76 oz), lắp hai miếng cân bằng thẳng hàng nhau như hình vẽ.
LƯU Ý:
Không được lắp một miếng cân bằng chồng lên các khối khác.

3. Chạy lại máy cân bằng bánh xe.
4. Lắp miếng cân bằng vào mặt trong của bánh xe ở vị trí (góc) chỉ báo của máy cân bằng động bánh xe.
LƯU Ý: Không được lắp ba hoặc nhiều hơn ba miếng cân bằng.
5. Chạy máy cân bánh xe. Kiểm tra xem giá trị lệch giữa bên trong và bên ngoài nằm trong phạm vi giá trị lệch cho phép không.
LƯU Ý:
Nếu một trong hai giá trị lệch vượt quá giới hạn, tiến hành lại quá trình lắp đặt.
Giá trị lệch cho phép
Cân bằng động (Ở vành) : Tham khảo WT-9, "Bánh xe".
Cân bằng tĩnh (Ở vành) : Tham khảo WT-9, "Bánh xe".
Chỉnh Độ cân bằng Bánh xe (Vành Thép)
CHUẨN BỊ TRƯỚC KHI ĐIỀU CHỈNH
Tháo miếng cân bằng ra khỏi bánh xe.
LƯU Ý:
Không được làm xước bánh xe khi tháo.
ĐIỀU CHỈNH
• Chi tiết về quy trình điều chỉnh đối với mỗi loại máy cân bằng bánh xe không giống nhau. Vì vậy, hãy tham khảo tài liệu hướng dẫn của từng loại.
• Nếu máy cân bằng bánh xe có thể vừa dùng miếng dán và miếng đóng thì hãy chọn cách dùng miếng đóng cho vành thép.
1. Lắp bánh xe vào máy cân bằng, sau đó chạy lại máy cân bằng bánh xe.
2. Lắp miếng cân bằng vào bánh xe theo độ lệch và vị trí (góc) hiển thị trên máy cân bằng bánh xe.
LƯU Ý:
• Luôn sử dụng các miếng cân bằng chính hiệu NISSAN.
• Không sử dụng lại các miếng cân bằng đã dùng.
• Luôn sử dụng búa nhựa khi gắn các miếng cân bằng.
• Không được lắp ba hoặc hơn ba miếng cân bằng lên một phía.
3. Chạy máy cân bằng bánh xe. Kiểm tra xem giá trị lệch giữa bên trong và bên ngoài nằm trong phạm vi giá trị lệch cho phép không.
LƯU Ý:
Nếu một trong hai giá trị lệch vượt quá giới hạn, tiến hành lại quá trình lắp đặt.
Giá trị lệch cho phép
Cân bằng động (Ở vành) : Tham khảo WT-9, "Bánh xe".
Cân bằng tĩnh (Ở vành) : Tham khảo WT-9, "Bánh xe".
Đảo lốp
Tuân theo lịch trình bảo dưỡng đối với từng giai đoạn đảo lốp.
Tham khảo MA-6, "Bảo dưỡng Chung".
• Khi lắp bánh xe, siết chặt các đai ốc tới lực siết chỉ định. Tham khảo WT-7, "Hình vẽ Chi tiết".
LƯU Ý:
• Khi lắp các bánh xe, siết chặt theo đường chéo và siết làm nhiều lần để không làm bánh xe bị lệch.
• Không siết đai ốc bánh xe quá lực siết chỉ định.
• Sử dụng đai ốc bánh xe chính hiệu NISSAN.

LẮP RÁP LỐP BÁNH XE Ô TÔ

THÁO BÁNH XE Ô TÔ
1. Tháo các đai ốc bánh xe.
2. Tháo lốp xe.
LẮP BÁNH XE Ô TÔ
Lắp theo trình tự ngược lại với lúc tháo ra.
Kiểm tra
VÀNH HỢP KIM NHÔM
1. Kiểm tra độ mòn và độ căng không đúng của lốp xe.
2. Kiểm tra biến dạng, vết nứt và hư hỏng khác của bánh xe. Nếu bị biến dạng, tháo bánh xe và kiểm tra độ đảo.
a. Tháo lốp ra khỏi vành hợp kim nhôm và định vị lên máy cân bằng bánh xe.
b. Chỉnh đồng hồ số theo như hình vẽ.
c. Kiểm tra độ đảo, nếu độ đảo hướng trục (A) hoặc độ đảo hướng kính (B) vượt quá giới hạn, thay vành hợp kim nhôm.
Giới hạn Độ đảo hướng trục Độ đảo hướng kính Tham khảo: WT-9, "Bánh xe". Tham khảo: WT-9, "Bánh xe".

VÀNH THÉP
1. Kiểm tra độ mòn và độ căng không đúng của lốp xe.
2. Kiểm tra biến dạng, vết nứt và hư hỏng khác của bánh xe. Nếu bị biến dạng, tháo bánh xe và kiểm tra độ đảo.
a. Tháo lốp ra khỏi vành thép và định vị lên máy cân bằng bánh xe
b. Chỉnh hai đồng hồ số theo như hình vẽ.
c. Chỉnh từng đồng hồ số về “0”.
d. Quay bánh xe và kiểm tra các đồng hồ báo ở nhiều điểm quanh vòng tròn của bánh xe.
e. Tính độ lệch ở mỗi điểm theo hình vẽ dưới đây.
Độ đảo hướng trục (A) : ( 1 + 2 )/2
Độ đảo hướng kính (B): ( 3 + 4 )/2
f. Chọn giá trị độ đảo dương tối đa và giá trị độ đảo âm tối đa.
Cộng hai giá trị để xác định tổng độ đảo.
LƯU Ý:
Trường hợp giá trị dương và âm không phù hợp, sử dụng giá trị tối đa (âm hoặc dương) để tính tổng độ đảo.
Giới hạn
Độ đảo hướng trục (A) : Tham khảo WT-9, "Bánh xe".
Độ đảo hướng kính (B) : Tham khảo WT-9, "Bánh xe".
g. Nếu tổng giá trị độ đảo vượt quá giới hạn, thay vành thép

CÁC THÔNG SỐ KỸ THUẬT VÀ DỮ LIỆU SỬA CHỮA LỐP VÀ BÁNH XE Ô TÔ
Bánh xe
VÀNH HỢP KIM NHÔM
|
Mục |
Giới hạn |
||
|
Độ đảo |
Độ đảo hướng trục |
|
Dưới 0,3 mm (0,012 in) |
|
Độ đảo hướng kính |
|||
|
Độ lệch cho phép |
Cân bằng động (Ở vành) |
Dưới 10 g (0,35 oz) (một bên) |
|
|
Cân bằng tĩnh (Ở vành) |
Dưới 20 g (0,70 oz) |
||
VÀNH THÉP
|
Mục |
Giới hạn |
|
|
Độ đảo |
Độ đảo hướng trục (Trung bình) |
Dưới 0,6 mm (0,024 in) |
|
Độ đảo hướng kính (Trung bình) |
|
|
|
Độ lệch cho phép |
Cân bằng động (Ở vành) |
Dưới 10 g (0,35 oz) (một bên) |
|
Cân bằng tĩnh (Ở vành) |
Dưới 20 g (0,70 oz) |
|
Áp suất Lốp Xe
Đơn vị: kPa (bar, kg/cm2, psi)
|
Cỡ lốp |
Áp suất khí |
|||
|
Trước |
Sau |
|||
|
Bán tải*1 |
Tải tối đa*2 |
Bán tải*1 |
Tải tối đa*2 |
|
|
195R15C 8PR |
280 (2.8, 2.8, 41) |
330 (3.3, 3.3, 48) |
450 (4.5, 4.5, 65) |
|
|
205R16C 8PR |
270 (2.7, 2.7, 39) |
360 (3.6, 3.6, 52) |
||
|
255/70R16 111H |
240 (2.4, 2.4, 35) |
240 (2.4, 2.4, 35) |
280 (2.8, 2.8, 41) |
|
|
255/60R18 108H |
||||
*1: Trọng tải vận chuyển nhỏ hơn một nửa trọng tải vận chuyển tối đa.
*2: Trọng tải vận chuyển lớn hơn một nửa trọng tải vận chuyển tối đa.
Tin tức nổi bật
Sửa các lỗi màn hình ô tô
Đèn Báo Lỗi Động Cơ Sáng Trên Ô Tô - Lỗi nhiều chủ xe thường gặp phải
Nguyên nhân & cách xử lý: Ô tô bị ì, vòng tua cao nhưng tốc độ thấp
Sửa Xe Vios Điều Hòa Ô Tô Không Mát & Tiếng Rít Từ Động Cơ
Xử lý chảy dầu và đại tu hệ thống gầm xe ô tô
Nguyên nhân, dấu hiệu & cách khắc phục xe ô tô báo lỗi khí thải
Lỗi chống trơn trượt, cân bằng điện tử ESP
Dấu hiệu hỏng giảm xóc & cách sửa chữa, bảo dưỡng, thay thế
Xe vào số bị giật khi khởi động và sau khi đi ổn định
Tại sao cần vệ sinh họng nạp & van egr ? Hậu quả ? Phương pháp bắn trấu?
BẢNG GIÁ BÌNH ẮC QUY VARTA NĂM 2024
Báo giá sửa chữa xe công trình năm 2024
Sửa chữa điều hòa ô tô
