
Rô tuyn lái là gì? Vị trí rô tuyn lái trong, lái ngoài
Rô tuyn lái là gì?
Rotuyn lái là một phần của hệ thống lái và bao gồm rotuyn lái trong và rotuyn lái ngoài. Rotuyn lái trong kết nối trực tiếp với thước lái, trong khi rotuyn lái ngoài kết nối với moay ơ ngoài và chịu trách nhiệm cho việc điều hướng xe. Hai rotuyn này hoạt động độc lập nhưng liên kết để đảm bảo hệ thống lái vận hành mượt mà nhất. Rotuyn lái trong nhận tín hiệu đánh lái từ thước lái, chuyển đến rotuyn lái ngoài để giúp xe di chuyển linh hoạt và chính xác. Các nhà sản xuất thường trang bị lớp cao su bọc đầu rotuyn để bảo vệ trục khớp.
Vị trí rô tuyn lái trong
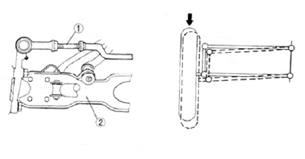
(1) Rô tuyn lái trong

• Rô tuyn lái trong bên trái và rô tuyn lái trong cả hai bên đều có bước ren ngược (ren phải).
Vị trí rô tuyn lái ngoài
1. Rô tuyn lái ngoài ( Tie rod )
2. Càng A dưới ( Lower arm )

• Để ngăn nghừa hiện tượng rung lắc ở bánh xe trước, đòn dưới bố trí song song với Rô tuyn lái ngoài.
• Bằng cách bố trí đòn dưới và Rô tuyn lái ngoài song song và thẳng hàng, điều này sẽ ngăn nghừa được sự thay đổi về độ chụm do hiện tượng rung bánh xe trước gây nên.
Tin tức nổi bật
Chênh lệch giá vàng trong nước và thế giới 14/4/2026
Cách quy đổi giá vàng thế giới
Vàng miếng, vàng thỏi, vàng nguyên liệu là gì?
Giá vàng, bạc áp lực giảm do lo ngại lạm phát (theo kitco.com)
So sánh giá vàng Sjc, Doji, Pnj, Phú Quý hôm nay