
Thùng xăng, ống dẫn xăng và lọc xăng
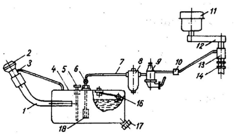
Trong hệ thống cung cấp nhiên liệu của động cơ xăng gồm có thùng xăng, các bình lọc và bơm xăng. Tất cả các thiết bị đó nối với nhau bằng ống dẫn nhiên liệu sơ đồ HTNL được trình bày như hình sau.

Hình 9.1.Sơ đồ hệ thống nhiên liệu của động cơ xăng dùng ở chế hoà khí
Thùng xăng:
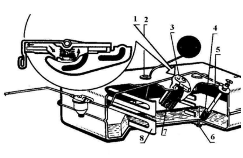
Dùng để chứa xăng cung cấp cho động cơ đủ làm việc trong một thời gian nhất định. Trên thùng xăng có các thiết bị dùng để đố xăng, kiếm tra lượng xăng tiêu thụ, cung cấp xăng cho hệ thống nhiên liệu, ngoài ra trên thùng xăng còn có nút hoặc khoá để xả cặn xăng và tháo xăng ra ngoài (hình 9.2.)

Hình 9.2.Thùng xăng.
1,2. Bộ truyền dẫn báo mức nhiên liệu; 3. nắp; 4. lưới lọc; 5. ống khoá; 6. Nút xả; 7. Ống đổ nhiên liệu 8. tấm ngăn.
Miệng thùng đậy kín bằng nắp, ở nắp có van không khí. Cấu tạo của nắp có khả năng giữ cho hơi xăng không bay ra ngoài tự do, việc tốn hao nhiên liệu càng giảm thì càng giữ được tính bốc hơi của nó cân thiết để khỏi động máy, đồng thời ngăn ngửa sự tăng quá mức hoặc giảm áp suất trong thùng. Phía trên thùng, lắp khoá cùng với lưới lọc và bộ phận truyền dẫn báo mức nhiên liệu. Dể xả cặn bẩn và nhiên liệu, ở đáy thùng có lỗ xả cùng với ốc xả.
Ống dẫn xăng
Ống dẫn xăng dùng để đưa xăng từ thùng chứa đến động cơ. Ống dẫn thường làm bằng đồng đó, đồng thau hoặc thép có mạ lóp chống rỉ. Đường kính trong của ống dẫn xăng phụ thuộc vào công suất động cơ và thường bằng 6 - 8 mm. Đôi khi cũng dùng ống thép hai lớp làm ống dẫn xăng. Khu vực để bị cọ sát với những vật khác của ống dẫn đều được cuốn sợi vải để bảo vệ.
Trong trường hợp lắp động cơ trên hệ thống treo mềm thì đoạn ống xăng tử thủng xe hoặc khung xe tới bơm, bơm chuyển xăng phải dùng loại ống mềm. Tất cá các ống dẫn xăng trên động cơ mô tô đều làm bằng cao su chụi xăng (đường kính khoảng 6,5mm). Dùng ống cao su làm ống dẫn xăng, rất tiện lợi khi sử dụng, nhưng ống cao su tuổi thọ rất ngắn, thường mỗi năm phải thay ống mội lần.
Các ống dẫn được nối với nhau bằng các khớp nối ống. Trên ống dẫn xăng còn có khoá kiểu nút hoặc kiểu van để khoá xăng khi máy ngừng hoại động.
Lọc xăng
Lọc xăng và cốc lắng làm nhiệm vụ lọc sạch nước và tạp chất cơ học lẫn trong xăng trước khi vào động cơ. Lưới lọc được lắp ở miệng ống đổ nhiên liệu của thùng xăng, ở nắp của vỏ bơm nhiên liệu của thùng xăng, ổ nắp của vỏ bơm nhiên liệu và ống nối của buồng phao ( bình lọc nhiên liệu ở hình.9.3)

Hìmh: 9 3. Lọc xăng
a. Lọc thô ; b. Lọc tỉnh
1. Lỗ ra; 2. Vỏ; 3. Lỗ vào; 4. Nút xã; 5. Cốc; 6. Tấm lọc; 7. Lỗ nhiên liệu; 8. Quay bắt chặt; 9. Cốc lọc; 10. Lò xo; 11. Lõi lọc; 12. Vỏ.
Lọc thô được lắp ổ cạnh thùng xăng. Bên trong cốc lọc được lắp vào trụ đứng lõi lọc gồm những tắm mỏng có đập các mấu cao 0,05mm (do vậy giữa các tấm có khe nhỏ 0,05mm). Nhiên liệu tử thùng qua lỗ vào đi vào cốc của bình lọc. Do cốc lọc có thể tích lớn hơn ống dẫn, nên tốc độ di chuyển của nhiên liệu giảm thấp đột ngột, tạo điều kiện cho các tạp chất cơ học và nước lắng xuống dưới.
Nhiên liệu đi qua khe hổ giữa các tấm lọc, lại được lọc và giữa lại các tạp chất cơ học tại lõi lọc. Bình lọc tỉnh nhiên liệu lắp phía trước bộ chế hoà khí. Bình lọc này (hình:9.3b) gềm có vỏ bình, cốc lọc, lõi lọc với lò xo và quay bắt chặt với êcu. Lõi lọc có thể làm bằng gốm hay bằng lưới mịn cuộn thành ống.
Một phần tạp chất cơ học lắng xuống cốc lọc, số tạp chất còn lại bị bể mặt lõi lọc giữ lại. Dể chuyến nhiên liệu từ thùng chứa tới bộ chế hoà khí của động cơ cân phải có bơm nhiên liệu. Trong động cơ xăng thường dùng bơm chuyển xăng dẫn động cơ khí
hoặc dẫn động điện.
Tin tức nổi bật
Chênh lệch giá vàng trong nước và thế giới 14/4/2026
Cách quy đổi giá vàng thế giới
Vàng miếng, vàng thỏi, vàng nguyên liệu là gì?
Giá vàng, bạc áp lực giảm do lo ngại lạm phát (theo kitco.com)
So sánh giá vàng Sjc, Doji, Pnj, Phú Quý hôm nay