
Hộp thổi túi khí: Là gì? Cấu tạo và nguyên lý hoạt động
Hộp thổi túi khí là gì?
Hộp thổi túi khí là bộ phận làm nhiệm vụ sinh ra khí trong hệ thống túi khí của xe ô tô. Hộp thổi túi khí bao gồm ngòi nổ, chất này mồi, chầt tạo khí … Chất tạo khí tạo ra khí nitơ để thổi túi khí khi xe bị đâm mạnh từ phía trước. Phần bên trong của bộ thổi khí được bao kín hoàn toàn và kín khí. Túi khí được làm bằng nylông có phủ cao su bên trong. Nó có hai lỗ ở phía sau để xả khí nitơ vào khí quyển sau khi căng phồng lên.
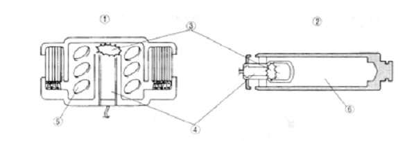
Cấu tạo hộp thổi túi khí
- Cho lái xe: (Trong mặt vành tay lái)
Bộ thổi khí và túi được đặt trong vành tay lái và không thể tháo rời. Bộ thổi khí chứa ngòi nổ, chất cháy mồi, chất tạo khí, …và thổi căng túi khí khi xe bị đâm mạnh từ phía trước. Túi khí được làm bằng ny lông có phủ một lớp chất dẽo trên bề mặt bên trong. Túi khí có hai lỗ thoát khí ở bên dưới để nhanh chóng xả khí Nitơ sau khi túi khí đã bị nổ.
- Cho hành khách trước: (Trong bảng táplô phía hành khách)
Bộ thổi khí bao gồm một ngòi nổ, chất cháy mồi và chất tạo khí. Các chi tiết này được bọc kín hoàn toàn trong hộp kim loại. Túi khí được làm từ vải ny lông bền và sẽ được thổi phồng lên bằng khí nitơ do bộ thổi khí sinh ra. Bộ thổi khí và túi khí được gắn bên trong vỏ và cửa túi khí, rồi đặt vào trong bảng táplô phía hành khách. Thể tích của túi khí phía hành khách lớn gấp đôi so với túi khí cho lái xe.
Nguyên lý hoạt động hộp thổi túi khí
Bộ đánh lửa đặt trong hộp thổi, có tác dụng sinh ra tia lửa khi quá trình nổ xảy ra. Khi có tín hiệu nổ truyền từ bộ điều khiển đến túi khí, hộp thổi sẽ được kích nổ khẩn cấp bởi nguồn nhiệt phát sinh ra từ tia lửa điện của bộ đánh lửa
Cảm biến túi khí bị kích hoạt bởi sự giảm tốc do xe bị đâm từ phía trước, và kích nổ ngòi nổ trong bộ thổi khí. Ngọn lửa lan truyền ngay tức khắc đến chất cháy mồi và chất tạo khí, chất tạo khí sinh ra một lượng lớn khí nitơ. Túi khí sẽ phá vỡ phần mỏng của vành tay lái khi nó phồng lên ở trước mặt người lái xe để làm giảm nguy cơ đầu và mặt của người lái xe đập thẳng vào vành tay lái.
Hoạt động của bộ thổi khí cho lái xe và hành khách phía trước là giống nhau. Khi các cảm biến túi khí bật do lực giảm tốc tạo ra khi xe bị đâm mạnh từ phía trước, dòng điện chạy đến ngòi nổ và nóng lên. Kết quả là nhiệt này làm bắt cháy chất cháy (chứa trong ngòi nổ) và làm lửa lan truyền ngay lập tức đến chất mồi và chất tạo khí. Chất tạo khí tạo ra một lượng lớn khí nitơ, khí này đi qua màng lọc, được làm mát và sau đó đi vào túi. Túi phồng lên ngay lập tức bởi khí. Nó xé rách mặt vành tay lái hay cửa túi khí và phồng lên trong khoang hành khách. Túi khí xẹp nhanh xuống sau khi nổ do khí thoát qua các lỗ khí xả khí. Nó làm giảm lực va đập vào túi khí cũng như bảo đảm tầm nhìn rộng.

1 Hộp thổi túi khí ghế lái
2 Hộp thổi túi khí ghế phụ
3 Tia lửa điện sinh ra từ bộ đánh lửa
4 Bộ đánh lửa
5 Khi sinh ra
6 Khí Argon
Khi bộ đánh lửa trong hộp thổi của túi khí ghế lái phát ra tia lửa điện sẽ gây nên một sự cháy khẩn cấp và giải phóng khí Ni tơ. Đối với hộp thổi của túi khí bên ghế phụ, khi có tia lửa điện phát ra từ bộ đánh lửa, quá trình cháy khẩn cấp xảy ra, giải phóng khí Argon.

1 Quá trình cháy khẩn cấp
2 Cháy nổ khẩn cấp xảy ra
Khí Nitơ sinh ra trong hộp thổi của túi khí bên phía lái xe là khí lạnh và được đi qua bầu lọc trước khi phun vào túi khí. Khí Argon trong hộp nổ của túi khí bên phía ghế phụ sẽ giãn nở ra do phản ứng nhiệt tạo nên trong qúa trình cháy, nó phá vỡ phần vỏ ngăn cách để thổi vào túi khí.

1 Bộ lọc
2 Vách xả
3 Khí Argon
4 Đến túi khí
Túi khí nổ sẽ làm vỡ phần vỏ có đường cắt giãn đoạn chờ trước. Xung lực tác động vào người lái hoặc người ngồi bên ghế phụ sẽ giảm xuống bằng cách xả khí trong túi khí qua những lỗ thông hơi

1 Túi khí bên phía ghế láI xe
2 Túi khí bên phía ghế phụ
3 Lỗ thông hơi
Tin tức nổi bật
Chênh lệch giá vàng trong nước và thế giới 14/4/2026
Cách quy đổi giá vàng thế giới
Vàng miếng, vàng thỏi, vàng nguyên liệu là gì?
Giá vàng, bạc áp lực giảm do lo ngại lạm phát (theo kitco.com)
So sánh giá vàng Sjc, Doji, Pnj, Phú Quý hôm nay