
Hướng dẫn kiểm tra, chuẩn đoán và sửa chữa khi xe ô tô báo lỗi túi khí
Chẩn đoán và kiểm tra khi xe ô tô báo lỗi túi khí Khi xe ô tô báo lỗi túi khí cần kiểm tra và chuẩn đoán nguyên nhân hư hỏng. Kiểm tra sơ bộ&n...
Chẩn đoán và kiểm tra khi xe ô tô báo lỗi túi khí Khi xe ô tô báo lỗi túi khí cần kiểm tra và chuẩn đoán nguyên nhân hư hỏng. Kiểm tra sơ bộ&n...
Tất cả các giắc nối của hệ thống túi khí SRS được làm màu vàng để phân biệt với các giắc nối khác. Các giắc có chức năng đặc biệt và được thiết kế ...
Cảm biến túi khí là gì? Cảm biến túi khí là bộ phận được đặt bên trong bộ thổi khí bao gồm một vật nặng(viên bi) để phát hiện lực giảm tốc, mộ...
Chức năng ngăn ngừa hiện tượng nổ nhầm. Đầu nối điện trong hệ thống túi khí. Thanh ngắn mạch đầu nổ là 1 trong những nguyên nhân bung túi khí ...
Bộ điều khiển túi khí xe ô tô là gì ? Bộ điều khiển túi khí xe ô tô là chi tiết phụ tùng ô tô thuộc hệ thống túi khí của xe ô tô với cảm biến va ch...
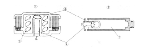
Lò so dạng dây cót đồng hồ túi khí ô tô là mối nối điện giữa hệ thống dây điện với túi khí bố trí trên vô lăng. Lò so dạng dây cót túi khí ô tô bao...
Hộp thổi túi khí là gì? Hộp thổi túi khí là bộ phận làm nhiệm vụ sinh ra khí trong hệ thống túi khí của xe ô tô. Hộp thổi túi khí bao gồm ngòi nổ, ...
Cấu trúc cơ bản của hệ thống an toàn túi khí xe ô tô bao gồm - Cảm biến túi khí trung tâm. - Bộ thổi khí. ...
Thông số sửa chữa hệ thống túi khí xe ô tô Nối dụng cụ đo Điều kiện kiểm tra Điều kiện tiêu chuẩn A1(D-) - D2(D-) Trung tâm Dưới 1 Ω ...
Túi khí ô tô là gì ? Túi khí ô tô hay còn gọi là túi khí xe hơi. Túi khí ô tô tiếng anh gọi là Air Bag vì vậy từ Air Bag được dịch hoàn toàn thuần ...