
Thanh ngắn mạch đầu nổ túi khí xe ô tô
Chức năng ngăn ngừa hiện tượng nổ nhầm. Đầu nối điện trong hệ thống túi khí. Thanh ngắn mạch đầu nổ là 1 trong những nguyên nhân bung túi khí xe ô tô
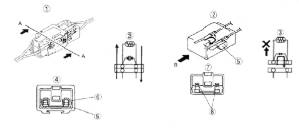
Thanh ngắn mạch đầu nổ túi khí ( ở đầu nối túi khí và bộ lò so dạng dây cót đồng hồ)
- Thanh ngắn mạch được lắp vào đầu nối của túi khí hay đầu nối của bộ lò so dạng dây cót đồng hồ nhằm ngăn chặn túi khí bị nổ nhầm do tĩnh điện sinh ra tại thời điểm tháo các đâù nối điện đó.
- Ngay sau khi đầu nối được tháo ra, hai cực của đầu nối được ngắn mạch, nhằm ngăn ngừa điện thế phát sinh trong khi tháo khớp nối và dòng điện đi vào hộp nổ.

1 Đầu nối ở vị trí đóng
2 Đầu nối ở vị trí mở
3 Túi khí
4 Mặt cẳt A - A
5 Thanh ngắn mạch
6 Thanh ngắn mạch bị tách ra
7 Nhìn theo chiều B
8 Hai đầu dây được nối lại bởi thanh ngắn mạch
Chức năng cảnh báo
Thanh ngắn mạch đầu nổ túi khí (nằm trong khớp nối của bộ điều khiển)
Thanh ngắn mạch trong đầu nối của bộ điều khiển làm sáng đèn cảnh báo hệ thống túi khí với mục đích là để cảnh báo cho lái xe biết rằng đầu nối của bộ điều khiển đã tháo ra

Thanh xác định đầu nối tiếp xúc kém
Thanh xác định đầu nối tiếp xúc kém trong đầu nối của bộ điều khiển nhằm để xác định sự tiếp xúc kém của đầu nối.
Mạch xác định đầu nối tiếp xúc kém trong bộ điều khiển đo được điện trở giữa những đầu dây của thanh xác định đầu nối tiếp xúc kém. Khi phát hiện ra hiện tượng không thông mạch giữa các đầu dây này, nó sẽ xác định được sự tiếp xúc kém của đầu nối và chỉ định mã báo hư hỏng sẽ xuất hiện.

Tin tức nổi bật
Chênh lệch giá vàng trong nước và thế giới 14/4/2026
Cách quy đổi giá vàng thế giới
Vàng miếng, vàng thỏi, vàng nguyên liệu là gì?
Giá vàng, bạc áp lực giảm do lo ngại lạm phát (theo kitco.com)
So sánh giá vàng Sjc, Doji, Pnj, Phú Quý hôm nay