
Hệ thống điều khiển lực phanh trên xe ô tô
Cấu tạo Hệ thống điều khiển lực phanh trên xe ô tô

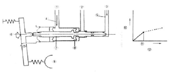
1 Gía đỡ 8 Van dạng vòng
2 Tay đòn 9 Vòng dạng chữ - X
3 Lò so chính 10 Thân van
4 Bộ phận điều chỉnh 11 Van thông hơi
5 Vỏ cầu 12 Từ mạch sau lại
6 Vành hãm 13 Từ mạch sau ra
7 Pistông 14 Từ mạch trước lại
• Van (LSPV) cân đối lực phanh cho bánh xe trước và bánh xe sau một cách rất chính xác để tăng độ an toàn trong quá trình phanh. Nó điều khiển áp suất dầu phanh đến những bánh xe sau theo tải trọng đặt lên cầu sau của xe để làm cho phần sau của xe không bị xoay do qúa trình phanh do hai bánh xe sau bị bó gây ra.
• Van (LSPV) kết hợp với cửa dầu phụ để ngăn ngừa hiện tượng tụt áp do vậy mà nếu như mạch trước của tổng phanh không làm việc thì mạch sau (hai bánh xe sau) phanh vẫn có hiệu lực
Hoạt động của hệ thống điều khiển lực phanh trên xe ô tô
Quá trình phanh khi xe không có tải.

(1) dầu phanh từ mạch sau vào 8 vòng hãm
(2) Dầu phanh từ mạch sau ra 9 van dạng vòng
(3) Dầu phanh từ mạch trước vào 10 vòng dạng chữ -X
4 cửa số – 1 11 vỏ cầu sau
5 cửa số – 2 12 áp suất ra
6 L 13 áp suất vào
7 pistông
• Áp suất dầu hình thành ở mạch sau do tổng phanh tác động, dòng dầu có áp đi qua cửa (4) (port–1) đến bộ phận điều khiển áp suất của van (LSPV).
• Áp suất dầu hình thành ở mạch trước do tổng phanh tác động, dòng dầu có áp đi qua cửa bù (bypass section) của van (lspv) qua cửa 5 (port 2). Ap suất dầu mạch trước và mạch sau được ngăn cách bởi vòng 10 (vòng dạng chữ x). Khi áp suất cửa 4 (port 1) bằng áp suất dầu cửa 5 (port 2) thì pistông 7 được đẩy vào vị trí tiêu chuần của xy lanh do lực tỳ của L.
• Khi dòng dầu có áp qua cửa 4 (port – 1) tác động vào pistông, pistông chuyển động về phía trái nhưng vì cùng thời gian đó cũng có một lực L (lực tỳ từ tay đòn ) tác động đồng thời vào pistông do vậy mà pistông nằm ở vị trí tiêu chuẩn của xy lanh. Van số 9 được mở ta trong điều kiện áp suất dòng dầu vào bằng áp suất dòng dầu ra và lực tác động của tay đòn L lớn hơn áp lực của dòng dầu vào.

(1) dầu phanh từ mạch sau vào 7 pistông
(2) Dầu phanh từ mạch sau ra 8 van dạng vòng
(3) Dầu phanh từ mạch trước vào 9 vỏ cầu sau
4 cửa số – 1 10 áp suất ra
5 cửa số – 2 11 điểm ngắt
6 L 12 áp suất vào
• Khi áp suất dòng dầu vào tăng nhanh và vượt quá lực L, sự chênh lệch về lực làm cho pistông chuyển động sang phía trái và đóng van 8 lại. Điều này làm tạm thời ngăn cách giữa mạch vào và mạch ra. Đối với mạch ra, thời điểm này gọi là điểm ngắt. Nếu lực L thay đổi (ví dụ độ cao của xe thay đổi theo tải trọng) thì điểm ngắt cũng thay đổi theo.

(1) Dầu phanh từ mạch sau vào 5 vỏ cầu
(2) Dầu phanh từ mạch sau ra 6 áp suất ra
(3) Dầu phanh từ mạch trước vào 7 điểm ngắt
4 L 8 áp suất vào
• Khi áp suất vào vượt qua điểm ngắt, pistông lại trở lại vị trí tiêu chuẩn của xy lanh (against the cylinder base). Cửa ra (2) mở ra và dòng dầu có áp suất do tổng phanh tác động đi đến những xy lanh bánh xe sau. Do áp suất dòng dầu ra tăng lên làm cho pistông chuyển động về phía trái điều này làm cho van 8 đóng lại, dẫn đến mạch vào và mạch ra bị ngăn cách.
• Hiện tượng trên thường lặp đi lặp lại để điều khiển áp suất mạch ra (2).

(1) Từ mạch sau tổng bơm vào van 7 Điểm ngắt
(2) Dầu từ van đi ra mạch sau 8 Tải trọng
(3) Dầu phanh từ mạch trước vào 9 Không tải
4 L 10 áp suất vào
5 Vỏ cầu 11 điểm ngắt
6 áp suất ra 12 Khác nhau
• Khi xe có tải, chiều cao từ sàn xe xuống mặt đất thay đổi, làm cho lực kéo của lò so từ vỏ cầu đến van bị giảm xuống, ngược lại lực L được tăng lên, điều này làm cho lực đẩy pistông sang phía phải tăng lên. Muốn đạt được vị trí cân bằng (tức là áp suất mạch vào bằng áp suất mạch ra) ở trạng thái này, áp suất dầu mạch vào cũng phải tăng lên. Điều này dẫn đến áp suất của điểm ngắt tăng sẽ tăng lên, khi áp suất của điểm ngắt tăng lên có nghĩa là lực phanh cũng tăng lên phù hợp với tải trọng.
Quá trình phanh khi mạch phanh trước có lỗi

(1) Từ mạch sau của tổng bơm vào (6) Pistông
(2) Dầu từ van đi ra mạch sau (7) Vỏ cầu
(3) Dầu phanh từ mạch trước vào (8) áp suất ra
(4) port – 2 (9) áp suất vào
(5) L
• Nếu như mạch phanh trước có lỗi, áp suầt dầu vào (port – 2) từ mạch phanh trước bằng không. Dầu phanh có áp suất vào từ (1) đẩy pistông sang bên phải do vậy áp suất mạch vào bằng mạch ra và ngăn cản không cho hiện tượng sụt áp sảy ra.
Tin tức nổi bật
Sửa các lỗi màn hình ô tô
Đèn Báo Lỗi Động Cơ Sáng Trên Ô Tô - Lỗi nhiều chủ xe thường gặp phải
Nguyên nhân & cách xử lý: Ô tô bị ì, vòng tua cao nhưng tốc độ thấp
Sửa Xe Vios Điều Hòa Ô Tô Không Mát & Tiếng Rít Từ Động Cơ
Xử lý chảy dầu và đại tu hệ thống gầm xe ô tô
Nguyên nhân, dấu hiệu & cách khắc phục xe ô tô báo lỗi khí thải
Lỗi chống trơn trượt, cân bằng điện tử ESP
Dấu hiệu hỏng giảm xóc & cách sửa chữa, bảo dưỡng, thay thế
Xe vào số bị giật khi khởi động và sau khi đi ổn định
Tại sao cần vệ sinh họng nạp & van egr ? Hậu quả ? Phương pháp bắn trấu?
BẢNG GIÁ BÌNH ẮC QUY VARTA NĂM 2024
Báo giá sửa chữa xe công trình năm 2024
Sửa chữa điều hòa ô tô