
Hệ thống làm mát trên ô tô
Trong hệ thống làm mát bằng chất lỏng thì sự tuần hoàn của chất lồng được thực hiện một cách cưỡng bức dưới tác dụng của bơm nước bơm vào áo làm mát, nước bị hâm nóng và qua đường nước ở nắp máy trổ về két nước. Quạt gió có tác dụng làm nguội nước được nhanh chóng.
Hệ thống làm mát là gì?
Trong quá trình làm việc của động cơ, khi nhiên liệu chảy trong xilanh của động cơ có một nhiệt lượng lớn toả ra, một phần chuyển thành công, phân còn lại tỏa ra ngoài không khí, hoặc các chỉ tiết tiếp xúc với khí cháy tiếp nhận (xilanh, piston, nắp xilanh, xupap thải, vòi phun ống thải....) mặt khác nhiệt lượng sinh ra do ma sát giữa các bể mặt làm việc của các chỉ tiết trong động cơ.
Như vậy nếu không làm mát hay làm mát không đủ các chỉ tiết đó sẽ nóng lên quá nhiệt độ cho phép gây ra các tác hại như: ứng suất nhiệt lớn, sức bền giảm dẫn đến phá hỏng các chi tiết, tăng tốn thất ma sát vì nhiệt độ lớn do đó độ nhớt bị phá huý dẫn đến mất tác dụng bôi trơn. Ở nhiệt độ cao (200+300°C) đầu nhớt sẽ bốc cháy, nhóm piston có thế bị bó kẹt trong xilanh vì gián nở, hệ số nạp rị, sẽ giảm, ở động cơ xăng dễ cháy cháy kích nổ.
Vì vậy, cần làm mát động cơ bằng không khí hay bằng nước (bằng chất lỏng).
Hệ thống làm mát bằng không khí có cấu tạo đơn giản hơn hệ thống làm mát bằng nước (không cần két nước, bơm nước và ống dẫn nước...) giảm được trọng lượng của động cơ và dể sử dụng, nhưng nhược điểm là khó điều chính nhiệt độ khi tải trọng của động cơ không thay đối, hiệu quả làm mát thấp.
Hệ thống làm mát bằng nước được chia ra nhiều kiểu khác nhau như làm mát
bằng nước kiểu bốc hơi, kiểu đối lưu tự nhiên, kiểu cưỡng bức, kiểu hổ.
Hầu hết các động cơ đốt trong làm mát bằng chất lỏng (như nước, đầu hay nhiên liệu) nhưng chủ yếu làm mát bằng nước, một số động cơ có công suất nhỏ, động cơ 2 kỳ làm mái kiểu không khí. Động cơ ô tô máy kéo hiện nay sử dụng hệ thống làm mát bằng nước tuần hoàn cưỡng bức một vòng kín vì chúng có nhiều ưu điểm như áp suất nước cao, nhiệt độ bốc hơi cao, vì vậy lượng nước bốc hơi chậm, hao nước giảm từ (6+8) lần so với kiểu kín.
Hệ thống làm mát bằng nước
Hệ thống làm mát bằng nước trong động cơ có đặc điểm là hiệu quả làm mát cao nhưng trong quá trình làm việc đỏi hỏi phải bổ sung nước làm mát, vì nước được dùng làm môi chất trung gian tải nhiệt khỏi các chỉ tiết.
Tuỳ thuộc vào tính chất lưu động của nước trơng hệ thống làm mát, ta có các phương án làm mát sau:
Hệ thống làm mát kiểu bốc hơi
Hệ thống làm mát bằng nước kiểu bốc hơi là loại đơn giản nhất. Hệ thống này không cần bơm, quạt. Bộ phận chứa nước gồm hai phần: khoang nước bao quanh thành xilanh, khoang nắp xilanh và thùng chứa nước bốc hơi ở phía trên.
Sơ đồ nguyên lý của hệ thống như sau:

Hình 7.1 Hệ thống làm mát bằng nước kiểu bốc hơi
1. Thân máy; 2. Piston; 3. Thanh truyền; 4. Hộp cacte trục khuýu; 5. Thùng nhiên liệu; 6. Bình bốc hơi 7. Nắp xi lanh.
Khi động cơ làm việc, nước nhận nhiệt của thành buồng cháy sẽ sôi tạo thành bọt nước, nối lên mặt thoáng của thùng chứa để bốc hơi ra ngoài khí trời. Nước nguội trong thùng chứa có tỷ trọng lớn chìm xuống điển chỗ cho nước nóng đã nổi lên, do đó tạo thành lưu động đối lưu tự nhiên. Căn cứ vào nhiệt lượng của động cơ để thiết kế hệ thống kiểu bốc hơi.
Do làm mát bằng cách bốc hơi nước, mức nước trong thùng chứa sẽ giảm nhanh, cần phải bố sung nước thưởng xuyên và kịp thời. Vì vậy kiểu làm mát này không thích hợp cho các động cơ dùng trên phương tiện vận tải mà thường cho các động cơ đốt trong kiểu xilanh nằm ngang trên các máy nông nghiệp cõ nhỏ.
Hệ thống làm mát bằng nước đối lưu tự nhiên
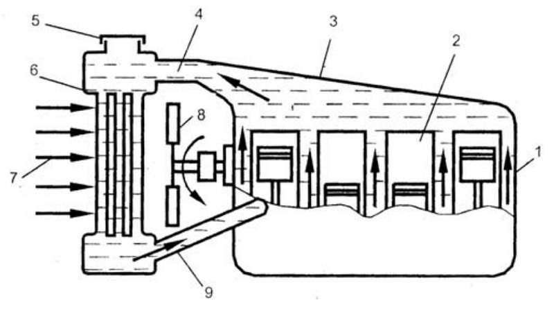
Trong hệ thống làm mái kiểu đối lưu tự nhiên, nước lưu động tuân hoàn nhờ chênh lệch áp lực giữa hai cột nước nóng và lạnh. Trong hệ thống làm mát đối lưu tự nhiên, nước lưu động tuần hoàn nhờ chênh áp lực của hai cột nước nóng và nước nguội, mà không cần bơm. Cột nước nóng trong động cơ và cột nước nguội trong thùng chứa hoặc trong kết nước. Nước nhận nhiệt của xilanh trong thân máy i(trên hình 7.2), khối lượng riêng p giảm nên nước nổi lên trên. Trong khoang của nắp xi lanh 3, nước tiếp tục nhận nhiệt của các chỉ tiết bao quanh buông cháy, nhiệt độ tiếp tục tăng và p tiếp tục giẩm, nước tiếp tục nổi lên theo đường dẫn ra khoang phía trên của két làm mát 6. Quạt gió § được dẫn động bằng puli tử trục khuýu động cơ hút không khí qua két. Do đó, nước trong két
được làm mát p giảm nên nước sẽ chìm xuống khoang dưới của két và từ đây đi vào thân máy, thực hiện một vỏng tuần hoản.

Hình 7.2.Hệ thống làm mát bằng nưóc đối lưu tự nhiên.
1. Thân máy; 2. Xilanh ; 3. Nắp xi lanh ; 4. Đường nước ra két ; 5. Nắp đổ rót
nước ; 6. Két nước ; 7. Không khí làm mát; 8. Quạt gió ; 9. Đưởng nước làm mát
vào động cơ
Trên thực tế, áp có giá trị bé vì chiều cao h bị hạn chế bởi kích thước bố trí chung. Hệ thống làm mát bằng nước kiểu đối lưu tự nhiên có ưu điểm là chế độ làm mát phù hợp với chế độ tải của động cơ. Khi mới khởi động do At bé nên Ap bé. Vì vậy, nước lưu động chậm, động cơ chóng đạt đến giá trị nhiệt độ ở chế độ làm việc. Sau đó phụ tải tăng thì At tăng theo và vận tốc nước cũng tăng lên. Tuy nhiên, hệ thống có nhược điểm là vận tốc nước lưu động bé vào khoảng V = 0,12+0,19 m⁄s.
Điều đó dẫn đến hiệu quả làm mát kém. Do tốc độ nước bé mà muốn đắm bảo lưu
lượng nước làm mát thì phải tăng tiết diện lưu thông của nước trong động cơ và hệ
thống làm mát nặng nể cổng kênh. Do vậy, hệ thống làm mát kiếu đối lưu tự nhiên
không thích hợp cho động cơ ô tô máy kéo, mà dùng trên động cơ tĩnh tại.
Hệ thống làm mát bằng nước tuần hoàn cưỡng bức
Hệ thống làm mát tuần hoàn cưỡng bức để khắc phục nhược điểm trong hệ thống làm mái kiểu đối lưu. Trong hệ thống này, nước lưu động không phải do hiện tượng đối lưu tự nhiên mà do sức đấy của cột nước do bơm nước tạo ra. Tuỳ theo số vòng tuần hoàn và kiểu tuần hoàn ta có các loại hệ thống làm mát như: hệ thống làm mái cưỡng bức một vòng kín, kiểu cưỡng bức một vòng hở, kiểu cưỡng bức hai hai vòng tuần hoàn. Mỗi kiểu làm mát có nguyên lý làm việc, ưu nhược điểm, phạm vi sử dụng cũng khác nhau. Ta lần lượt tìm hiểu đặc điểm của từng kiểu làm mát trên.
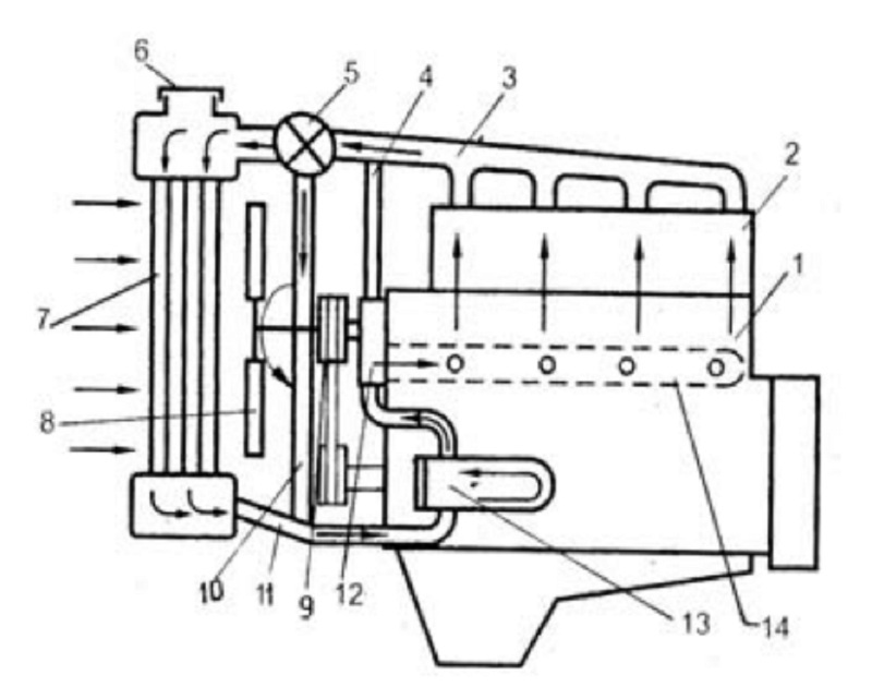
Hệ thống làm mát cưỡng búc tuần hoàn kín một vòng

Hình 7.3. Hệ thống làm mát cưðng búc tuần hoàn kín một vòng
1. Thân máy; 2. Nắp xi lanh; 3. Đường nước ra khỏi động cơ; 4 ống dẫn bọt nước; 5. Van hằng nhiệt; 6.Nắp rót nước; 7. Két làm mát ; 8. Quạt gió ; 9. Puly ; 10. Ống nước nối tắt vào bơm ; 11. Đường nước vào động cơ ; 12. Bơm nước ; 13. Két làm mát đầu ; 14. Ống phân phối nước
Trên hình (7.3) giới thiệu hệ thống làm mát tuần hoàn cưỡng bức của động cơ ô tô máy kéo một hàng xi lanh ở đây nứơc tuần hoàn nhở bơm li tâm 12, qua ống phân phối nước 14 phân phối vào các khoang chứa của các xi lanh. Nước làm mát có nhiệt độ thấp được bơm 12 hút từ bình chứa phía dưới của két 7 qua đường ống 10 rồi qua két 13 để làm mát dâu sau đó vào động cơ. Dế phân phối nước làm mát đều cho mỗi xilanh, nước sau khi bơm vào thân máy I chảy qua ống phân phối 14 đúc sẵn trong thân máy. Sau khi làm mát xilanh, nước lên làm mát nắp máy rồi theo đường ống 3 ra khỏi động cơ với nhiệt độ cao đến van hằng nhiệt 5. Khi van hằng nhiệt mở, nước qua van vào bình chứa phía trên của két nước. Tiếp theo nước từ bình phía trên đi qua các ống mỏng có gắn các cánh tấn nhiệt. Tại đây, nước được làm mát bởi dòng không khí qua két do quạt 8 tạo ra. Quạt được dẫn động bằng pully từ trục khuýu của động cơ. Tại bình chứa phía dưới của két làm mát, nước có nhiệt độ thấp lại được bơm hút vào động cơ thực hiện một chu trình làm mát tuần hoàn.
Hệ thống làm mát cưỡng bức một vòng kín, nước sau khi qua két làm mát lại trở về động cơ do đó đổ phải bố sung nước, tận dụng được trổ lại nguồn nước để làm mát tiếp động cơ.
Ưu điểm này rất thuận lợi đối với các loại xe đường dài, nhất là ở những vùng hiếm nguồn nước. Ngày nay hệ thống làm mát kiểu cưỡng bức một vòng kín được dùng rất phố biến trên động con ô tô máy kéo và động cơ tĩnh tại như động cỡ kamaz-740, động cơ zil-I30, động cơ AMZ-236v.v...
Trong động cơ tàu thuỷ, có thế dùng hai kiểu tuần hoàn làm mát: hệ thống làm mát kiểu một vòng tuần hoàn hở và hệ thống làm mái cưỡng bức kiểu hai vỏng.
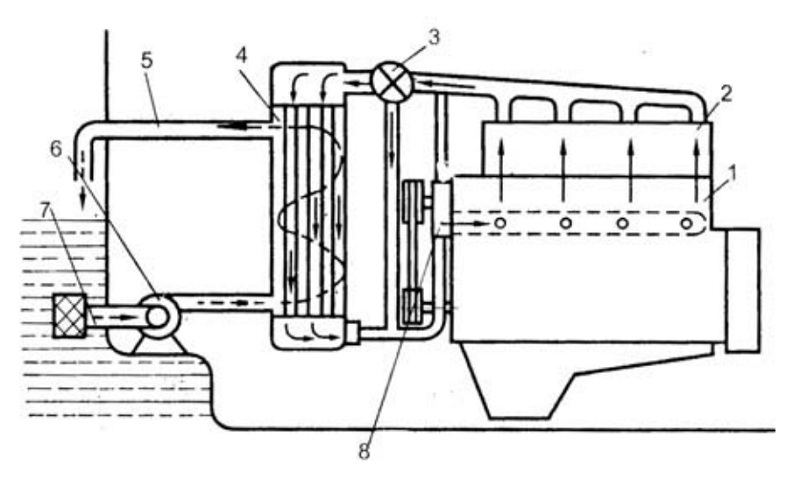
Hệ thống làm mút cưỡng búc tuần hoàn hai vòng
Trong hệ thống này (hình. 7.4), nước được làm mát tại két nước 4 không phải bằng dòng không khí do quạt gió tạo ra mà bằng nước có nhiệt độ thấp hơn, như nước sông biến. Vỏng thứ nhất làm mát động cơ như đã xét ở hệ thống cưỡng bức một vỏng cỏn gọi là nước vòng kín. Vòng thứ hai với nước sông hay nước biển được bơm 6 chuyển đến két làm mát để làm mát nước vòng kín, sau đó lại thải ra sông, ra biển nên gọi là vòng hở. Hệ thống làm mát hai vòng được dùng phổ biến cho động cơ tàu thuỷ.

Hình 7.4.Hệ thống làm mát cưỡng búc kiểu hai vòng tuần hoàn.
1. Thân máy; 2. Nắp xilanh; 3. Van hằng nhiệt; 4. Két làm mát; 5. Đường nước ra
vòng hở; 6. Bơm vòng hở; 7. Đường nước vào vòng hở; 8. Bơm nước vòng kín.
Hệ thống này làm việc như sau: nước ngọt làm mát động cơ đi theo chu trình kín, bơm nước (8) đến động cơ đến làm mát thân máy và nắp xi lanh đến két làm mát nước ngọt (4). Nước ngọt trong hệ thống kín được làm mát bởi nước ngoải tàu bơm vào do bơm (6) qua lưới lọc, qua các bình làm mát dầu, qua két làm mát (4) làm mát nước ngọt rồi theo đường ống(Š) đố ra ngoải tàu.
Khi động cơ mới khởi động, nhiệt độ của nước trong hệ thống tuần hoàn kín còn thấp, van hằng nhiệt (3) đóng đường nước đi qua két làm mát nước ngọt. Vì vậy, nước làm mát ở vòng làm mát ngoài, nước được hút từ bơm (6) qua két làm mát (4) theo đường ống (5) rơi ra ngoài. Van hằng nhiệt (3) có thể đặt trên mạch nước ngọt để khi nhiệt độ nước ngọt làm mái thấp, nó sẽ đóng đường nước đi vào két làm mát (4). Lúc này nước ngọt có nhiệt độ thấp sau khi làm mát động cơ qua van hằng nhiêt (3) rồi theo đường ống đi vào bơm nước ngọt (8) để bơm trỏ lại động cơ.
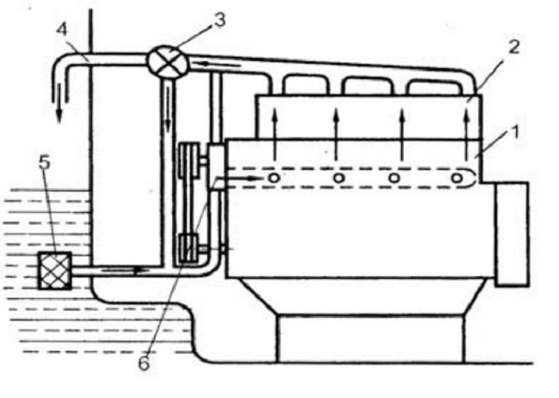
Hệ thống làm mút một vòng hở :
Hệ thống làm mát kiểu một vỏng hở bán chất không khác nhiều so với hệ thống làm mát cưỡng bức vòng kín. Trong hệ thống này (hình: 7.5) nước làm mát là nước sông, nước biến, được bơm 6 hút vào làm mát động cơ sau đó theo đường nước 4 đố ra sông, biển. Ưu điểm cơ bản của hệ thống này là đơn giản.

Hình 7.5. Hệ thống làm mát một vòng hở.
1.Thân máy; 2. Nắp máy; 3.Van hằng nhiệt; 4.Đường nước; 5.Lọc lưới; 6. Bơm nước.
Tuy nhiên ổ một số kiểu động cơ nước làm mát đại được 100°C hoặc cao hơn. Khi ổ nhiệt độ cao nnước sẽ bốc hơi. Hơi nước có thế tạo thành ngay trong áo nước làm mát (kiểu bốc hơi bên trong) hoặc hơi nước bị tạo ra trong một thiết bì riêng (kiểu bốc hơi bên ngoài). Do đó cần phải có một hệ thống làm mát cho động cơ, hệ thống này được giới thiệu sau đây.
HỆ THỐNG LÀM MÁT Ở NHIỆT ĐỘ CAO
Hệ thống làm mát ở nhiệt độ cao được trình bày ở đây bao gồm hai hệ thống làm mát chính là hệ thống làm mát cưỡng bức nhiệt độ cao kiểu bốc hơi bên ngoài và hệ thống làm mát cưỡng bức nhiệt độ cao có lợi dụng nhiệt hơi nước và nhiệt của khí thải. Do vậy, để tìm hiếu đặc điểm, nguyên lý làm việc của hệ thống làm mát ở nhiệt độ cao, ta tìm hiểu đặc điểm của hai hệ thống trên.
Hệ thống làm mát cưỡng bức nhiệt độ cao kiểu bốc hơi bên ngoài
Trong hệ thống này có hai vùng áp suất riêng khác nhau (trên hình 7.6). Vùng thứ nhất có áp suất p¡ truyền từ bộ tách hơi 3 qua bộ ngưng 4 đến bơm tuần hoàn 6. Quại gió 5 dùng để quạt mát bộ ngưng tụ 4. Vùng thứ hai có áp suất p; > p¡ truyền từ bơm tuần hoàn qua động cơ đến bơm tiết lưu 2 của bình tách hơi 3, độ chênh áp suất Áp = p; - p¡ được điều chỉnh bởi bơm tiết lưu 2. Nước trong vùng có áp suất cao p; không sôi mà chỉ nóng lên(từ nhiệt độ t„„ đến t,„). Ấp suất p; tương ứng với nhiệt độ sôi t; > t„ nên nước chỉ sôi ở bộ tách hơi có áp suất p¡ < pa.

Hình 7.6 Sơ đồ hệ thống làm mát cưỡng búc nhiệt độ cao kiểu bốc hơi bên ngoài.
1. Động cơ; 2. Van tiết lưu; 3. Bộ tách hơi; 4. Bộ ngưng tụ hơi nước 5. Quạt gió; 6. Bơm nước.
Hệ thống làm mát cưỡng bức nhiệt độ cao có lợi dụng nhiệt cửa hơi nước và nhiệt cửa khí thải
Hệ thống làm mát này có hai vòng tuần hoàn quá trình hoạt động như sau:
Vòng 1: bộ tách hơi 8 đến bơm tuần hoàn 14 đến động cơ diezel 1 bộ tăng nhiệt trước của nước tuần hoàn 5 đến bơm tiết lưu 7 bộ tách hơi 8. Nước tuần hoàn trong hệ thống tuần hoàn làm mát kín nhờ bơm 11, bơm lấy nước từ bộ tách hơi với áp suất p¡ đưa vào động cơ với áp suất p;. Từ động cơ nước lưu động ra với áp suất p› và nhiệt độ t,„ rồi vào bộ tăng nhiệt 5 ,ở đây nhiệt độ nâng lên t„ > t..
Nhưng do áp suất của nước p; tương ứng với nhiệt độ sôi ty > f,„ > {„ nên nước không sôi trong động cơ diezel và cả trong bộ tăng nhiệt. Nước chí sôi ổ bộ tách hơi sau khi qua bơm tiết lưu, tại đây áp suất giảm từ p„ xuống p¡ với nhiệt độ tị.
Vòng 2: Hơi từ bộ tách hơi 8 qua bộ tăng nhiệt 4, sau đó vào bộ tuốcbin 10 rồi vào bộ ngưng tụ 11. Nước làm mát do hơi nước ngưng tụ trong bộ phận ngưng tụ 1l được bơm 12 bơm vào buồng chứa 13 rồi qua bơm 15 để bơm và bộ tăng nhiệt 6. Sau đó qua van điều tiết tự động 9 mà vào bộ tách hơi. Nước làm mát của vòng tuần hoàn ngoài lưu động qua bình làm mát dầu, đi làm mát đỉnh và qua bộ ngưng tụ I1 đều do bơm 16 của hệ thống bơm cấp vào mạch hở để piston làm mát nước trong mạch kín.

Hình 7.7. Sơ đồ hệ thống làm mát nhiệt độ cao có lợi dụng nhiệt của hơi nước và
nhiệt của khí thải
1. Động cơ; 2. Tuốc bin tăng áp ; 3. Đường thải; 4.Bộ tăng nhiệt cho hơi nước; 5. Bộ tăng nhiệt cho nước ra; 6. Bộ tăng nhiệt cho nước trước khi vào bộ tách hơi; 7,9. Van tiết lưu; 8. Bộ tách hơi; 10. Tuốc bin hơi; 11. Bộ ngưng tụ; 12,14,15,16. Bơm nước; 13.
Thủng chứa nước.
Nâng cao nhiệt độ nước làm mát không những áp dụng ở động cơ diezel tàu thủy và động cơ tĩnh tại mà cỏn ứng dụng trong cả động cơ diezel và xăng dùng trên ô tô.
Ưu điểm của hệ thống làm mát ổ nhiệt độ cao là : Có thể nâng cao hiệu suất làm việc của động cơ lên 6 +7%, dùng hệ thống làm mát ở nhiệt độ cao thì hiệu suất có thế đạt 0,46 + 0,47 trong khi đó nếu dùng hệ thống làm mát thông thường chí đạt 0,40 + 0,42. Giảm được lượng tiêu hao nước và không khí làm mát, do đó có thế rút gọn kích thước bộ tắn nhiệt .
Đốt cháy được nhiều lưu huỳnh trong nhiên liệu nặng. Nhưng hệ thống làm mái này cũng có những nhược điểm mà cơ bản là nhiệt độ của các chỉ tiết máy cao. Do đó cần đắm bảo khe hở công tác của các chỉ tiết cũng như cần phải đùng loại dầu bôi trơn cho động cơ có tính chịu nhiệt tốt hơn. Ngoài ra đối với động cơ xăng còn phải chú ý đến hiện tượng kích nổ. Khi tăng áp suất để nâng nhiệt độ của nước làm mát trong hệ thông, cần phải đảm bảo các mối nối đưởng ống, các khe hổ của bơm phải kín hơn, bộ tản nhiệt phải chắc chắn hơi.
Tin tức nổi bật
Sửa các lỗi màn hình ô tô
Đèn Báo Lỗi Động Cơ Sáng Trên Ô Tô - Lỗi nhiều chủ xe thường gặp phải
Nguyên nhân & cách xử lý: Ô tô bị ì, vòng tua cao nhưng tốc độ thấp
Sửa Xe Vios Điều Hòa Ô Tô Không Mát & Tiếng Rít Từ Động Cơ
Xử lý chảy dầu và đại tu hệ thống gầm xe ô tô
Nguyên nhân, dấu hiệu & cách khắc phục xe ô tô báo lỗi khí thải
Lỗi chống trơn trượt, cân bằng điện tử ESP
Dấu hiệu hỏng giảm xóc & cách sửa chữa, bảo dưỡng, thay thế
Xe vào số bị giật khi khởi động và sau khi đi ổn định
Tại sao cần vệ sinh họng nạp & van egr ? Hậu quả ? Phương pháp bắn trấu?
BẢNG GIÁ BÌNH ẮC QUY VARTA NĂM 2024
Báo giá sửa chữa xe công trình năm 2024
Sửa chữa điều hòa ô tô