
Trục trung gian là gì ? Vai trò và cấu tạo của trục trung gian
TRỤC TRUNG GIAN LÀ GÌ ?
Trục trung gian là chi tiết dùng để truyền mômên xoắn từ bộ vi sai đến bánh xe chủ động hoặc đến giảm tốc bánh xe. Thông thường với hệ thống treo phụ thuộc ở cầu chủ động không điều khiển là trục trung gian liền, với cầu chủ động điều khiển trục trung gian gồm hai nửa nối với nhau bằng khớp các đăng đồng tốc . Đối với cầu chủ động của hệ thống treo độc lập trục trung gian nối với nhau bằng khớp các đăng kép tuỳ thuộc vào kết cấu của truyền lực bánh xe mà kết cấu của trục trung gian có khác nhau .
PHẦN I. GIỚI THIỆU CHI TIẾT TRỤC TRUNG GIAN
I. CHỨC NĂNG TRỤC TRUNG GIAN
• Khi làm việc thì trục chịu các tải trọng và trạng thái làm việc như sau:
• Chịu mô men xoắn truyền từ bộ vi sai đến bánh xe chủ động
• Chịu lực dọc trục khi mà chiều quay của bánh chủ động hay bị động thay đổi
• Chịu tải trọng động.
• Chịu dao động xoắn.
Vật liệu chế tạo trục thường dung gồm một số loại :
• Thép cacbon: Thép 35;40;45.
• Thép hợp kim : Thép Grôm hoặc thép Crôm_niken …
• Gang có độ bền cao .
II. PHÂN LOẠI VÀ YÊU CẦU KỸ THUẬT TRỤC TRUNG GIAN
1. PHÂN LOẠI .
a) Trục trơn : Trên suốt chiều dài trục chỉ có một kích thước đường kính d
Khi L/d<4 : trục trơn ngắn
L/d =4 10 : trục trơn thường
L/d >10 : trục trơn dài
b) Trục bậc :
Trên suốt chiều dài của trục có một số kích thước đường kích khác nhau.
Trên trục bậc còn có rãnh then , then hoa hoặc có ren .
c) Trục rỗng :
Là trục rỗng có tác dụng giảm trọng lượng và còn có thể làm các mặt lắp ráp .
d) Trục răng :
Là loại trục mà trên đó có bánh răng liền trục .
e) Trục lệch tâm :
Là loại trục có các cổ trục không cùng nằm trên một dường tâm .
1. Yêu cầu kỹ thuật.
Phải truyền hết mômen xoắn đến các bánh xe chủ động với bất kì hệ thống treo loại nào .
Khi truyền mômen xoắn vận tốc góc của các bánh xe không đổi kể cả bánh xe chủ động không dẫn hướng lẫn bánh xe chủ động dẫn hướng .
III.CÁC HƯ HỎNG VÀ NGUYÊN NHÂN HƯ HỎNG TRỤC TRUNG GIAN
1. Các hư hỏng và nguyên nhân
a) Các hư hỏng của trục trung gian (dạng hư hỏng cổ trục )
1. Bị mài mòn, xước bề mặt lắp ghép
2. Trục không đủ độ cứng uốn gây ra mòn
3. Then hoa bị mòn
b) Nguyên nhân:
Do trong quá trình làm việc trục trung gian chịu mô men xoắn lớn, chịu tải trọng động, va đập, khi xe chạy do thường xuyên trục trung gian bị thay đổi chiều dài nên cũng gây mài mòn. Mặt khác do trong quá trình tháo lắp làm cho bề mặt lắp ghép bị xước, bị mòn. Trục làm việc trong điều kiện bôi trơn không tốt, mối ghép dễ bị bụi bẩn cũng làm cho trục bị mòn mà chủ yếu là ở bề mặt then hoa.
IV. CÁC BIỆN PHÁP PHỤC HỒI HƯ HỎNG TRỤC TRUNG GIAN
• Mài mòn, xước bề mặt lắp ghép
- Biện pháp phục hồi là: sửa lại các chỗ xước bằng cách tiện láng lại.
• Khi trục không đủ độ cứng uốn .
- Biện pháp phục hồi là: Lắp trục lên đồ gá chuyên dùng, đầu trục đặt trong đồ gá, đầu then hoa lắp trên mũi tâm của ụ động, kiểm tra độ đảo của phần giữa trục( Khi độ đảo vượt quá 1mm thì phải nắn lại). Yêu cầu kỹ thuật: Khi lắp lên đồ gá chuyên dùng độ đảo của phần giữa trục không vượt quá 0,5 mm. Mặt ngoài của đoạn then hoa không lớn 0,15 mm.
• Then hoa bị mòn.
- Biện pháp phục hồi là:
+ Làm sạch then hoa tới khi thấy ánh kim loại bằng bàn chải thép để chuẩn bị hàn đắp
+ Hàn đắp doạn trục then hoa bằng máy hàn tự động
+ Kiểm tra mặt vát lỗ tâm ở đầu trục then hoa, nếu hư hỏng thì sửa lại
+ Tiện đọan then hoa vừa hàn đắp khảo mặt đầu và sửa mặt vát
+ Phay then hoa, dũa vát cạnh then hoa
+ Tôi then hoa bằng dòng điện tần số cao
+ Mài then hoa
PHẦN II: LẬP QUY TRÌNH CÔNG NGHỆ
I. PHÂN NHÓM TỔNG THÀNH VÀ DẠNG CHI TIẾT
Việc phân nhóm nhằm mục đích lựa chọn được quy trình phục hồi hợp lý cho chi tiết mhất là cho việc chọn chuẩn, định vị và kẹp chặt khi gia công. Đồng thời mang lại hiệu quả kinh tế cao cho việc phục hồi. Việc phân nhóm chi tiết phục hồi dựa trên hai nguyên tắc:
- Dựa vào hình dáng và tính chất của bề mặt gia công.
- Sự thống nhất trong chọn chuẩn khi gia công để thống nhất cách định vị và kẹp chặt chi tiết.
Theo cách phân nhóm như vậy có thể chia chi tiết phục hồi thành một trong 7 nhóm sau:
- Nhóm vỏ mỏng ( vỏ xe, cánh cửa, chắn bùn…)
- Nhóm vỏ dầy ( vỏ hộp số, truyền lực chính, thân động cơ…)
- Nhóm thanh tròn ( trục khuỷu, trục cam, trục các đăng, trục trung gian…)
- Nhóm thanh không tròn ( thanh truyền, đòn quay…)
- Nhóm trụ rỗng ( xi lanh động cơ, moay ơ bánh xe…)
- Nhóm đĩa ( đĩa bị động của li hợp, đĩa phanh, bánh đà…)
- Nhóm chi tiết nối ghép (bu lông, đai ốc…)
Căn cứ vào cách phân nhóm như trên thì trục trung gian được xếp vào nhóm thanh tròn. Đặc điểm của nhóm này là có bề mặt làm việc hình trụ tròn, thông thường được chế tạo bằng phưưong pháp rèn hay dập các thanh tròn .Vật liệu chế tạo là thép cácbon, thép hợp kim, một số ít bằng gang cầu. Bề mặt định vị là các lỗ chống tâm, đôi khi dùng mặt ngoài.
Các hư hỏng đặc trưng là mòn các bề mặt then hoa, trục bị phá hỏng sự tiếp xúc chính xác , các mặt đầu và mặt bích bị đảo, lỗ chống tâm bị sai lệch. Trong quá trình phục hồi trước tiên phải phục hồi lại các mặt chuẩn định vị, nắn cong sau đó mới đến gia công cơ khí.
II. LỰA CHỌN PHƯƠNG PHÁP PHỤC HỒI TRỤC TRUNG GIAN
1. Dạng hư hỏng trục trung gian
- Bề mặt trục bị phá hỏng sự tiếp xúc chính xác(do không đủ độ cừng uốn ) .Do bề mặt cổ trục mòn
- Mòn, xước bề mặt lắp ghép do quá trình tháo lắp
- Then hoa bị mòn
2. Trình tự các bước nguyên công
Quy trình công nghệ phục hồi trục trung gian theo dạng tiến trình:
- Nguyên công 1: Khoan sửa lỗ tâm
+ Kẹp trục trung gian lên mâm cặp ( kẹp vào bề mặt I) của máy tiện. Gắn mũi khoan lên ụ động của máy tiện. Tiến hành khoan sửa mũi tâm bên phải.

Nguyên công 2: Nắn lại trục: Kiểm tra độ đảo phần giữa trục bằng đồng hồ so, độ đảo phần giữa trục không được vượt quá 0,5 mm
- Nguyên công 3: Làm sạch then hoa đến khi thấy ánh kim loại, chuẩn bị để hàn đắp
- Nguyên công 4: Hàn đắp đoạn trục tới Æ 42 mm que hàn thép lò xo có đường kính 2 mm, sử dụng máy hàn tự động
- Nguyên công 5: Tiện đoạn trục vừa đắp đạt kích thước Æ 38 mm trên chiều dài 165 mm, khỏa sạch mặt đầu và sửa lại mặt vát 2,5´ 300 ( dùng máy tiện, dao T15K6)
- Nguyên công 6: Phay 16 rãnh then hoa có chiều dày đỉnh then 3,5 mm trên chiều dài 165 mm đảm bảo giữ kích thước Æ 38 mm, dũa vát cạnh then hoa 0,2´ 450
Yêu cầu kỹ thuật là độ bóng mặt then không thấp hơn Ñ7 độ không song song của mặt then hoa đối với đường tâm trục không vượt quá 0,05mm
- Nguyên công 7: Tôi cổ trục bằng điện tần số cao, độ cứng mặt trục phải đạt HRC 43 ¸ 50.
- Nguyên công 8: Mài đoạn trục vừa hàn bằng máy mài chuyên dùng
|
TT |
Tên nguyên công |
Thiết bị |
|
1. |
Khoan sửa lỗ tâm |
Máy tiện |
|
2. |
Nắn thẳng trục |
Máy ép thủy lực |
|
3. |
Làm sạch then hoa để chuẩn bị hàn đắp |
Dùng bàn chải sắt |
|
4. |
Hàn đắp đoạn trục |
Máy hàn tự động |
|
5. |
Tiện đoạn trục vừa đắp |
Máy tiện T15K6 |
|
6. |
Phay 16 rãnh then hoa |
Máy phay |
|
7. |
Tôi trục bằng dòng điện tần số cao |
Lò |
|
8. |
Mài đoan trục |
Máy mài |
|
9. |
Tổng kiểm tra |
|
3.3. phân tích nguyên công thiết kế đồ gá
Đối với nguyên công tịên cổ trục sau hàn đắp ta tiến hành tiện trên máy tiện vạn năng . Bề mặt chuẩn ta chọn là hai lỗ chống tâm , khi đó ta định vị được 5 bậc tự do
Để chi tiết có thể quay cùng trục chính của máy tiện , ta sử dụng một kẹp tốc .
3.4. Tính toán thiết kế đồ gá
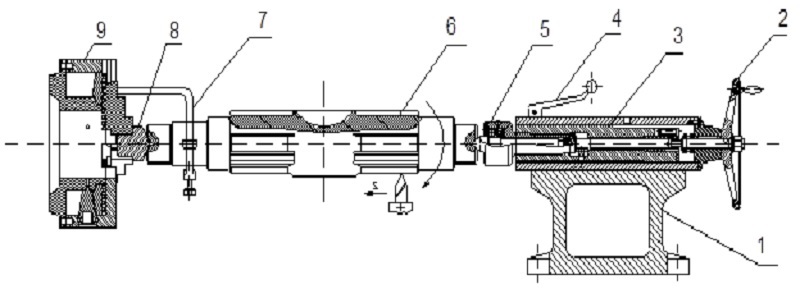
Cấu tạo đồ gá

1. Thân ụ động 2. Tay quay 3.Bạc trượt 4.Tay bắt chặt bạc trượt
5,8. Mũi chống tâm 6. Chi tiết 7. Kẹp tốc 9.Mâm cặp
TÀI LIỆU THAM KHẢO
1. Nguyễn Văn Bang – Nguyễn Bạch Liên – Tô Đức Long – Trịnh Chí Thiện
Kết cấu và tính toán ôtô – NXB GTVT - 1984
2. Nguyễn Hữu Cẩn – Phạm Đình Kiên
Thiết kế và tính toán ôtô máy kéo – NXB GD - 1996
3. Nguyễn Khắc Trai
Gầm xe con – NXB GTVT 2003
4. TS.Trần Vĩnh Hưng- KS.Nguyễn Văn Thiệp
Sử dụng AutoCad Mechanical 2002 Power Pack trong thiết kế cơ khí- Trung tâm công nghệ CAD/CAM-Trường ĐH Giao thông vận tải 2001
5. TS.Nguyễn Hữu Lộc
Thiết kế cơ khí với AutoCad Mechanical- NXB TP Hồ Chí Minh 2003
6. Trịnh Chất-Lê Văn Uyển
Tính toán thiết kế Hệ dẫn động cơ khí – NXB Giáo dục 2001
7. Nguyễn Trọng Hiệp
Chi tiết máy- NXB Đại học và giáo dục chuyên nghiệp 1970
8. GS.TS. Nguyễn Đắc Lộc
PGS.TS. Lê Văn Tiến
PGS.TS. Ninh Đức Tôn
PGS.TS. Trần Xuân Việt
S ổ tay công nghệ chế tạo máy
9. GS.TS. Trần Văn Địch
Thiết kế đồ án công nghệ chế tạo máy- NXB Khoa học và kỹ thuật
Tin tức nổi bật
Sửa các lỗi màn hình ô tô
Đèn Báo Lỗi Động Cơ Sáng Trên Ô Tô - Lỗi nhiều chủ xe thường gặp phải
Nguyên nhân & cách xử lý: Ô tô bị ì, vòng tua cao nhưng tốc độ thấp
Sửa Xe Vios Điều Hòa Ô Tô Không Mát & Tiếng Rít Từ Động Cơ
Xử lý chảy dầu và đại tu hệ thống gầm xe ô tô
Nguyên nhân, dấu hiệu & cách khắc phục xe ô tô báo lỗi khí thải
Lỗi chống trơn trượt, cân bằng điện tử ESP
Dấu hiệu hỏng giảm xóc & cách sửa chữa, bảo dưỡng, thay thế
Xe vào số bị giật khi khởi động và sau khi đi ổn định
Tại sao cần vệ sinh họng nạp & van egr ? Hậu quả ? Phương pháp bắn trấu?
BẢNG GIÁ BÌNH ẮC QUY VARTA NĂM 2024
Báo giá sửa chữa xe công trình năm 2024
Sửa chữa điều hòa ô tô