Pan me là gì ? Hướng dẫn đo bằng Pan me
Pan me là gì ? Pan me là một thiết bị đo được sử dụng rộng rãi để đo chiều dầy của khối, đường kính trong, đường kính ngoài của trục và chiều sâu ...
Pan me là gì ? Pan me là một thiết bị đo được sử dụng rộng rãi để đo chiều dầy của khối, đường kính trong, đường kính ngoài của trục và chiều sâu ...
Thước cặp là gì ? Thước cặp là dụng cụ hay còn gọi là thiết bị đo chính xác,nó được sử dụng để đo chiều dài giữa hai bề mặt đối xứng nhau. Thước cặ...
Ổ bi, vòng bi là gì ? Ổ bi, vòng bi là chi tiết được thiết kế để giảm ma sát trong các cơ cấu máy. Ổ bi, vòng bi được chia làm nhiều loại...
Bánh răng là gì ? Bánh răng là chi tiết được thiết kế để truyền công suất từ bánh răng đến một chi tiến có răng khác (bánh răng hoặc thanh răn...
Đệm là gì ? Đệm là chi tiết được sử dụng để đỡ lực xiết từ bu lông, để bảo vệ bề mặt tiếp xúc giữa bu lông, đai ốc và chi tiết. Đệm cũng được dùng ...
Trong khi xiết bu lông, nếu lực xiết quá lớn có thể làm gãy bu lông, một nửa bu lông nằm lại trong lỗ. Khi đó hãy thử một trong các phương pháp sau...
Bu lông là gì ? Bu lông là một chi tiết kẹp chặt sử dụng ren, bu lông thường lắp xuyên qua vật được kẹp chặt và được giữ tại vị trí bằng đai ốc hoặ...
Cầu nâng là gì ? Cầu nâng là thiết bị nâng hạ xe ô tô để phục vụ mục đích sửa chữa phần gầm, phần động cơ xe ô tô. Cấu nâng thông thường có 3 loại ...
Mũi khoan taro là gì ? Mũi khoan ta rô được dùng để tạo ren trong. Thường có 3 loại mũi ta rô, một loại có ren đến tận mặt đầu (H1) có thể ta rô đ...
Máy ép thủy lực là gì ? Máy ép thủy lực là thiết bị sử dụng trong sửa chữa ô tô được dùng để tháo ra hoặc lắp vào các chi tiết dạng trụ ra khỏi chi...
Cờ lê cân lực bao gồm một tay lắc bánh cóc và một thiết bị được tích hợp vào để đo lực xiết (mô mem) tác động lên bu lông hoặc đai ốc được xiết. Tr...
SỬ DỤNG ĐÚNG DỤNG CỤ SỬA CHỮA Ô TÔ CHO TỪNG CÔNG VIỆC CỤ THỂ Việc sử dụng đúng dụng cụ cho từng công việc cụ thể là rất quan trọng. Do vậy phải luô...
Máy chuẩn đoán hay còn gọi là máy đọc lỗi, máy scan Đối với các xe ô tô hầu như đều được trang bị các thiết bị chuẩn đoán chuyên dùng. Trước đ...
Dụng cụ sửa chữa ô tô là gì ? Dụng cụ sửa chữa ô tô là các loại dụng cụ cơ khí hoặc máy móc đơn giản. Dụng cụ cầm tay được thiết kế để làm một hoặc...
Hướng dẫn kiểm tra vô lăng Độ dơ của vô lăng và khả năng trả lái của vô lăng phải được kiểm tra định kỳ. Đo độ dơ của vô lăng khi quay phải và quay...
Lưu ý khi bảo dưỡng lốp xe ô tô và bánh xe ô tô • Vành hợp kim nhôm được thiết kế cho từng kiểu xe. Hãy chọn đúng loại vành ...
Các hư hỏng hệ thống treo trên ô tô Hỏng phớt dầu Lực xiết không đúng Mòn bạc cao su Xung đột khi hoạt động Kẹt, gãy ống giảm chấn Vỡ mắt nối Rách...
Hướng dẫn bảo dưỡng hệ thống phanh tang trống ( guốc phanh ) Guốc phanh: Nằm trong phanh tang trống (Phanh đùm). Một số loại phanh có thiết...
Ắc quy: đối với đa số các loại ắc quy hiện nay là loại MF (Maintenance Free) có nghĩa là không cần có bất cứ công việc bảo dưỡng nào. Một số loại ắ...
Nước làm mát là gì? Nước làm mát là dung dịch thuộc hệ thống làm mát của động cơ. Đúng như tên gọi của nó nước làm mát là 1 loại dung dịch hó...
Lọc nhớt - lọc dầu động cơ là chi tiết thường xuyên phải thay thế cho động cơ xe ô tô, định kỳ 5000 km hoặc 3 tháng bạn phải thay lọc dầu động cơ x...
Lọc xăng là gì ? Lọc xăng là 1 loại lọc nhiên liệu sử dụng cho động cơ xăng của xe ô tô. Với các xe của động cơ xăng hay động cơ diesel thường...
Lọc nhiên liệu là gì? Lọc nhiên liệu là chi tiết phụ tùng thuộc hệ thông nhiên liệu của động cơ xe ô tô. Lọc nhiên liệu có tác dụng là loại bỏ các ...
Sử dụng dụng cụ đặc biệt Xác định rõ nguyên nhân Tháo lắp đúng trình tự Khi tháo lắp các chi tiết cần sử dụng dụng cụ đặc biệt (SST) cần sử dụng ...
Trước khi bắt đầu kiểm tra hoặc bảo dưỡng xe cần phải kiểm tra các nhãn cảnh báo dán trên xe. Các nhãn này cung cấp các thông tin hữu ích đảm bảo a...
KHÁI NIỆM CHUNG VỀ QUI TRÌNH CÔNG NGHỆ BẢO DƯỠNG Ô TÔ Quy trình công nghệ bảo dưỡng ô tô là hàng loạt các công việc nhất định, bắt buộc phải thực ...
1. Phân loại hàn (1) Hàn áp lực Hàn Bấm (2) Hàn nóng chảy : Hàn hồ quang dùng khí CO2 bảo vệ; Hàn hồ quang dùng khí trơ bảo vệ (3) H...
Lốc máy ô tô là gì ? Lốc máy ô tô là chi tiết được thiết kế cùng với mặt máy là nơi lắp đặt và bố trí hầu hết các cụm các chi tiết của động cơ...
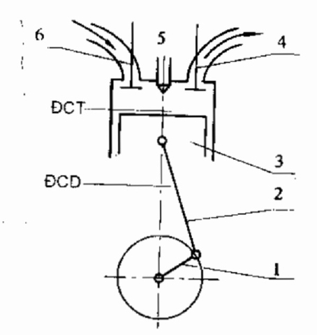
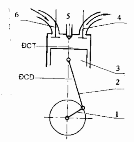
Động cơ đốt trong loại 4 kỳ bao gồm các kỳ như sau: Kỳ hút, kỳ nén, kỳ nổ, kỳ xả. Tương ứng với 1 kỳ pít tong sẽ đi hết 1 hành trình từ điểm chết t...
Kỳ ( thì ) là gì ? Kỳ ( thì ) là một phần của chủ trình công tác xảy ra trong thời gian piston dịch chuyển một hành trình. Theo số kỳ người ta phân...
Trước khi xét nguyên lý làm việc của động có cụ thể, ta làm quen với một vài khái niệm có bản để thuận tiện trong quá trình khảo sát sau này Điểm ...
Bơm cao áp là gì ? Bơm cao áp là phụ tùng thuộc hệ thống nhiên liệu của động cơ Diesel, nó đảm nhận nhiệm vụ đưa nhiên liệu tới vòi phun phải ...