Đọc dữ liệu Data List quá trình nén của động cơ bị lỗi
Phân tích dữ liệu data list trên máy chuẩn đoán Quá trình nén bị lỗi Hiển thị của máy chẩn đoán Hạng Mục Đo Phạm vi Điều ...
Phân tích dữ liệu data list trên máy chuẩn đoán Quá trình nén bị lỗi Hiển thị của máy chẩn đoán Hạng Mục Đo Phạm vi Điều ...
Intake Control (Ptrl Intake Control) Powertrain > Engine and ECT > Data List Hiển thị của máy chẩn đoán Hạng Mục Đo Phạm vi...
Data List của hệ thống đánh lửa Powertrain > Engine and ECT > Data List Hiển thị của máy chẩn đoán Hạng Mục Đo Phạm vi Điề...
Đọc dữ liệu Data List của hệ thống nhiên liệu Fuel System 1 (Ptrl General) Powertrain > Engine and ECT > Data List Hiển thị c...
Hiển thị của máy chẩn đoán Hạng Mục Đo Phạm vi Điều kiện bình thường Ghi chú Tốc độ xe Tốc độ xe Min.: 0 km/...
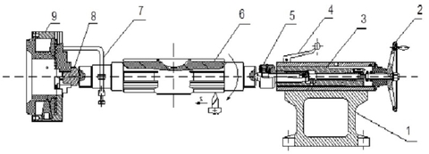
I – Phân nhóm lắp ghép 1) Phân nhóm lắp ghép: Để lập qui trình lắp ráp truyền lực chính, trước hết ta phải tiến hành phân nhóm lắp ghép. Nhóm lắp ...
I. Giới thiệu chung Truyền lực chính là một tổng thành thuộc hệ thống truyền lực của ôtô. Xét về mặt cấu tạo, hệ thống truyền lực của ôtô có thể gồ...
I. Vị trí và yêu cầu chung của lắp ráp tổng thành 1. Vị trí của công tác lắp ráp Lắp ráp là khâu cuối cùng của quá trình công nghệ. Nó ảnh hưởng t...
Mặc dù có rất nhiều các phương pháp khác nhau để kiểm tra hệ thống và các thiết bị điện, nhưng cần thực hiện việc kiểm tra cơ bản để xác định liệu ...
TRỤC TRUNG GIAN LÀ GÌ ? Trục trung gian là chi tiết dùng để truyền mômên xoắn từ bộ vi sai đến bánh xe chủ động hoặc đến giảm tốc bánh xe. Thô...
CÂN BẰNG LỐP XE Ô TÔ LÀ GÌ? Khi bạn nhìn vào lốp xe mới bạn sẽ nhìn thấy một số chấm vàng, đỏ trên thành lốp hoặc một nhìn thấy một đường chỉ màu ...
ĐO ĐỘ CHỤM BÁNH XE Sử dụng dụng cụ đo độ chụm để đo. Điều chỉnh bánh trước ở vị trí hướng thẳng về phía trước. Điều chỉnh đầu đo của dụng cụ đo sa...
Độ chụm bánh xe là kích thước để đo khoảng cách trước và sau của 2 bánh xe trước của ô tô. Chức năng chính của góc chụm là để trượt tiêu lực đẩy d...
Góc bao hàm: bằng tổng của Camber + SAI. Góc này của hai bên bánh phải bằng nhau. Bán kính chuyển vị: là khoảng cánh giữa giao điểm của trục lái v...
Độ nghiêng của trục lái (Steering Axis Inclination: SAI) là độ nghiêng đo bằng độ khi nhìn từ phía trước của xe. Nhờ có góc này mà một bên đầu xe ...
Khi bạn quay vô lăng, bánh trước xe quay quanh một trục gắn trên hệ thống treo. Góc caster là góc nghiêng của trục quay của bánh trước đo bằng độ ...
Camber là góc nghiên của bánh xe đo bằng độ và khi nhìn từ phía trước. Khi bánh xe nghiêng vào thì gọi là góc camber âm, khi nghiêng ra gọi là góc...
Góc đẩy Điều này xảy ra với xe mà bánh trước không thẳng hàng với bánh sau. Việc này là do lốp xe bị mòn hoặc khi bạn không điều chỉnh lại hệ thốn...
Ý NGHĨA CỦA GÓC CASTER, GÓC CAMBER & ĐỘ TRÙNG VẾT BÁNH XE Tất cả các lái xe đều mong muốn vô lăng luôn ở vị trí cân bằng và xe chạy thẳng khi ...
Hệ thống treo độc lập là gì ? HỆ THỐNG TREO TRƯỚC ĐỘC LẬP: Xương đòn kép, lò xo xoắn kiểu 1 Hệ thống treo kiểu xương đòn kép hay chữ A kép, trục b...
Hệ thống treo đa điểm có nguyên lí cũng tương tự như loại hệ thống treo độc lập kiểu xương đòn kép nhưng thay vì xương đòn trên và dưới là các than...
Hệ thống treo Macpherson là hệ thống bao gồm một lò xo xoắn và một ống giảm chấn được lắp lồng vào nhau và cả hai có thể xoay trên một mối nối...
Nhíp xe ô tô là gì ? Nhíp xe ô tô là 1 bộ phận của hệ thống treo của xe ô tô, nó giúp giảm xóc cho xe, giảm lực tác dụng trực tiếp lên cầu xe. Nhíp...
Yêu cầu của hệ thống treo ô tô Hệ thống treo là thuật ngữ đề cập đến các chi tiết như lò xo, giảm chấn và các chi tiết liên kết để nối giữa bá...
Hầu hết các xe sang trọng đều được trang bị hệ thống khóa trung tâm, điều khiển từ xa và hệ thống chuông chống trộm. Khi đó hệ thốgn khóa trung tâ...
Dầu trợ lực lái là dầu gì ? Dầu trợ lực lái là loại dầu thủy lực, nó có phẩm cấp dầu tương tự như dầu hộp số của xe ô tô. Dầu trợ lực lái ch...
Van phân phối là gì ? Khái niệm van phân phối được biết chủ yếu ở trong giáo trình ở các trường đại học tuy nhiên trong thực tế có thể nhiều người ...
Van điều khiển lưu lượng là gì ? Van điều khiển lưu lượng là 1 thiết bị thủy lực nhằm mục đích điều khiển lưu lượng và áp suất là giữ sao cho áp s...
Bơm thủy lực cánh gạt là bơm được dẫn động bởi động cơ thông qua dây cua roa và puli. Bơm bao gồm rô to bơm có các rãnh xe để chứa cánh gạt. Vỏ bơ...
Hệ thống cơ cấu lái trục vít thanh răng Cơ cấu lái trục vít thanh răng là cơ cấu lái sử dụng nhiều trên các loại xe thương mại, xe du lịch cũng còn...
Hệ thống lái bánh răng thanh răng Đối với các loại xe du lịch đa số sử dụng cơ cấu lái thanh răng bánh răng. Cơ cấu thanh răng bánh răng được ...
Khái quát về hệ thống lái trên ô tô Trên ô tô, vô lăng, cột lái, cơ cấu bánh răng, rô tuyn và các chi tiết khác hợp thành hệ thống lái để điều khi...